Американская винтовка М16: история, ТТХ, видео
От автора
Если посмотреть подборку материалов, по теме сравнить два популярных оружия мира, то увидим, много материалов, где сравнивают автомат Калашникова (Россия) и полуавтоматическую винтовку М16 (США). Чаще это американцы, у них свободный доступ к оружию и им проще это делать. Большинство авторов статей и видеороликов утверждают (не все), что лучше M16. У меня другое мнение, которое поясню чуть позже. В этой статье познакомимся с легендарной винтовкой M16 подробнее.
Факт
Винтовка серии M16 служили вооруженным силам США, правоохранительным органам и спортсменам почти 40 лет. С этим нужно считаться. Винтовки этой серии стали мировым стандартом, с которым сравнивают всё оружие мира. Последняя винтовка М серии это винтовка M16A4.
История винтовки М16
Так же как все знают автомат Калашникова, все знают американскую винтовку М16. Она бесспорно оружие №2 в мире. Хотя американцы (не все) будут со мной спорить.
Исследования в 1948 году проходили с целью создания усовершенствованной модели вооружения.
Начало
История винтовки М16 началась в 48 году. Американцы проводили исследования с целью создания усовершенствованной модели вооружения.
Главный инженер компании Arma Lite, Eugene M. Stoner (1922–1997), с начала 50-х годов работал над своей первой штурмовой винтовкой, которая была обозначена, как AR10 (модель 10 Arma Lite Rifle).
AR10 был первым оружием, которое использовало запатентованную фирмой GeneStoner (US Patent No. 2,951,424), систему вывода отработанных пороховых газов из канала ствола через газоотводную трубку. На самом деле патент касался авиации и Stoner удачно использовал его принцип для AR10.
В 57 году генерал Wyman (Вайман), впечатленный заслугами и результатами AR10, отправился в компанию Arma Lite. Там он попросил Джин Стонера продолжить работы, взамен предлагая финансовую поддержку Arma Lite для будущего развития винтовок Arma Lite.
В обмен были предложены права собственности на финальный продукт.
Работы продолжились и впоследствии Arma Lite представила совершенно новую концепцию современного оружия, боевую винтовку 22-калибра. В результате 30-калибр AR10 закончила свою службу в ВС США.
Первые испытания винтовки AR15
Первые испытания винтовки AR15 M (модель Arma Lite Rifle model 15) в 58 году прошли успешно. В 59 году, права на разработку конструкции получает фирма, довольно известная, Colt’sPatentFirearmsManufacturing. Конструктор Джин Стонер начинает работу в уже этой компании.
Оригинальный AR15; конфигурацию оружия, которую Кольт купил у ArmaLite.19 февраля 59 года компания Кольт из Хартфорда, Коннектикут приобрела права на AR15 и AR10 FairchildStratos (Arma Lite) за 75 тыс. плюс доход в 4,5% от всех дальнейших производств AR15/10.
Кольт также заплатил «Купер и Макдональд» (группа, которая работала в Юго-Восточной Азии), 250тыс.$ и один процент роялти за все производство винтовок AR15 и AR10.
Американская винтовка М16: появление модели
После долгих испытаний винтовки AR15, а также закупки армией в 64 году 100 тыс. стволов, были выявлены существенные недостатки AR15, которые попытались исправить в следующей модели, винтовка M16. Руководство военными силами приняло в 64 году модель М16.
В сентябре 65 года генерал Уэстморленд приказал дополнительно закупить 100 тыс. стволов и потребовал, чтобы все сухопутные войска США во Вьетнаме были оснащены новыми винтовками M16A1.
Кольт теперь подписал дополнительный контракт на поставку 25 тыс. стволов в месяц к декабрю 66 года. В 68 году GMHydramaticDivision и HarringtonRichardson получили контракты от Министерства обороны.
В 67 году американская винтовка М16 появляется под названием «US Rifle, 5.56mm, M16A1».
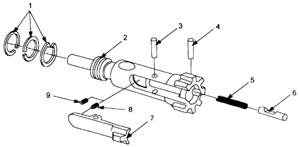
Различия M16 на M16A1 очень очевидно, когда винтовки сравниваются бок о бок. M16 (сверху) и M16A1 (внизу).Вьетнамская война показала не лучшую сторону М16. Ей были необходимы особые условия обслуживания, она часто давала сбои.
«Письма с поля боя начали сообщать, что американские войска находили мертвых бойцов рядом с винтовками M16 давшими осечку»
1981 год ознаменовался появлением усовершенствованной модели, и через год винтовка получает обозначение «US Rifle, 5.56mm, M16A2»
Следующая модель M16A3 (5.56×45mm NATO) появилась в армии в 1994 году.
Американская винтовка М16: ТТХ
- Модели М серии: AR-15, M16A1/16A2/16A3/16A4, XM 16E1, M4, Mk12
- Стоимость: 1500–1800 долларов.
Выводы
Странно слышать, что винтовка М16 лучше АК. Почему? Поясню.
М16 и АК это боевое оружие, основное назначение которого применение в реальных боевых условиях. Да, М16 кучнее стреляет, у неё меньше отдача, но основной её недостаток это НЕ надежность в экстремальных условиях. То есть М16 может подвести в бою, пыли, грязи, песке, дожде. Я пояснил?
Видео, как работает винтовка М16
vimeo.com/video/231656442?title=0&byline=0&portrait=0&color=ffffff&autoplay=0&dnt=0&muted=0&texttrack=» src=»data:image/gif;base64,R0lGODlhAQABAAAAACH5BAEKAAEALAAAAAABAAEAAAICTAEAOw==»/>
©game-unit.ru
Еще статьи
Похожие посты:
Прайс-лист на электромонтажные работы
Офисы обслуживания и терминалыОфисы и терминалы
‘ } ], visaTerminal: false, visaCenter: false, allWeek: false, allDay: false, eye: false, ear: false, stick: false, disable: false }, { center: [60.040389,30.393572], city: «Санкт-Петербург», adress: «Просвещения пр., д. 67», region: ‘Калининский’, subway: ‘Гражданский проспект’, line: ‘red-line’, items: [ { name: ‘Платежный терминал’, hours: ‘пн — сб: 09.
30 — 20.30, вс: выходной’
},
{
name: ‘Центр приема платежей’,
hours: ‘пн — сб: ‘ } ], visaTerminal: false, visaCenter: false, allWeek: false, allDay: false, eye: true, ear: true, stick: true, disable: true }, { center: [60.042447,30.389575], city: «Санкт-Петербург», adress: «Просвещения пр., д. 74, к. 2 («Перекресток»)», region: ‘Калининский’, subway: ‘Гражданский проспект’, line: ‘red-line’, items: [ { name: ‘Центр приема платежей’, hours: ‘09.30 — 20.30, без выходных
‘ } ], visaTerminal: false, visaCenter: false, allWeek: true, allDay: false, eye: true, ear: true, stick: true, disable: true }, { center: [60.
031445,30.43494],
city: «Санкт-Петербург»,
adress: «Руставели ул., д. 61А («Лента»)»,
region: ‘Калининский’,
subway: ‘Гражданский проспект’,
line: ‘red-line’,
items: [
{
name: ‘Платежный терминал’,
hours: ‘круглосуточно‘
},
],
visaTerminal: false,
visaCenter: false,
allWeek: true,
allDay: true,
eye: false,
ear: false,
stick: false,
disable: false },
{
center: [59.840709,30.243051],
city: «Санкт-Петербург»,
adress: «Ветеранов пр., д. 50, к. 2»,
region: ‘Кировский’,
subway: ‘Проспект Ветеранов’,
line: ‘red-line’,
items: [
{
name: ‘Платежный терминал’,
hours: ‘ пн — сб: 09.00 — 20.00, вс: выходной‘ }, { name: ‘Центр приема платежей’, hours: ‘пн — сб:
00 — 20.00, вс: выходной’
}
],
visaTerminal: false,
visaCenter: false,
allWeek: false,
allDay: false,
eye: true,
ear: true,
stick: true,
disable: false },
{
center: [59.830594,30.211268],
city: «Санкт-Петербург»,
adress: «Ветеранов пр., д. 92»,
region: ‘Кировский’,
subway: ‘Проспект Ветеранов’,
line: ‘red-line’,
items: [
{
name: ‘Платежный терминал’,
hours: ‘пн — сб: 09.00 — 20.00, вс: выходной’
},
{
name: ‘Центр приема платежей’,
hours: ‘пн — сб: 09.00 — 20.00, вс: выходной‘ } ], visaTerminal: false, visaCenter: false, allWeek: false, allDay: false, eye: true, ear: true, stick: true, disable: true }, { center: [59.854242,30.214817], city: «Санкт-Петербург», adress: «Ленинский пр.
‘ }, { name: ‘Центр приема платежей’, hours: ‘09.00 — 20.00, без выходных’ } ], visaTerminal: false, visaCenter: false, allWeek: true, allDay: true, eye: true, ear: true, stick: true, disable: true }, { center: [59.852393,30.25357], city: «Санкт-Петербург», adress: «Ленинский пр., д. 118», region: ‘Кировский’, subway: ‘Ленинский проспект’, line: ‘red-line’, items: [ { name: ‘Клиентский зал’, hours: ‘пн — сб:
‘,
},
{
name: ‘Платежный терминал’,
hours: ‘пн — сб: 09.
15 — 20.15, вс: выходной’
},
{
name: ‘Центр приема платежей’,
hours: ‘пн — сб: 09.15 — 20.15, вс: выходной
‘
}
],
visaTerminal: false,
visaCenter: false,
allWeek: false,
allDay: false,
eye: true,
ear: true,
stick: true,
disable: false },
{
center: [59.856903,30.230861],
city: «Санкт-Петербург»,
adress: «М. Жукова пр., д. 30А («Сезон»)»,
region: ‘Кировский’,
subway: ‘Автово’,
line: ‘red-line’,
items: [
{
name: ‘Платежный терминал’,
hours: ‘ 08.00 — 23.00, без выходных
‘
},
],
visaTerminal: false,
visaCenter: false,
allWeek: true,
allDay: false,
eye: false,
ear: false,
stick: false,
disable: false },
{
center: [59.858426,30.
228498],
city: «Санкт-Петербург»,
adress: «М. Жукова пр., д. 31, к. 1 («О’КЕЙ»)»,
region: ‘Красносельский’,
subway: ‘Автово’,
line: ‘red-line’,
items: [
{
name: ‘Платежный терминал’,
hours: ‘
‘ }, { name: ‘Центр приема платежей’, hours: ‘10.00 — 21.00, без выходных’ } ], visaTerminal: false, visaCenter: false, allWeek: true, allDay: false, eye: true, ear: true, stick: true, disable: true }, { center: [59.871685,30.258708], city: «Санкт-Петербург», adress: «Стачек пр., д. 67, к. 2», region: ‘Кировский’, subway: ‘Автово’, line: ‘red-line’, items: [ { name: ‘Платежный терминал’, hours: ‘пн — сб: 09.00 — 20.00, вс: выходной’ }, { name: ‘Центр приема платежей’, hours: ‘пн — сб: 09.
00 — 20.00, вс: выходной‘ } ], visaTerminal: false, visaCenter: false, allWeek: false, allDay: false, eye: true, ear: true, stick: true, disable: false }, { center: [59.736911,30.571792], city: «Санкт-Петербург», adress: «Колпино, Трудящихся б-р, д. 12 (ТК «ОКА»)», region: ‘Колпинский’, subway: ‘Звёздная’, line: ‘blue-line’, items: [ { name: ‘Платежный терминал’, hours: ‘09.00 — 23.00, без выходных
‘ }, ], visaTerminal: false, visaCenter: false, allWeek: true, allDay: false, eye: false, ear: false, stick: false, disable: false }, { center: [59.752643,30.575212], city: «Санкт-Петербург», adress: «Колпино, ул. Финляндская, д. 16-1, лит.

‘, }, { name: ‘Платежный терминал’, hours: ‘пн — сб: 09.00 — 20.00, вс: выходной’ }, { name: ‘Центр приема платежей’, hours: ‘пн — сб: 09.00 — 20.00, перерыв: 13.00 — 13.30, вс: выходной
‘ } ], visaTerminal: false, visaCenter: false, allWeek: false, allDay: false, eye: true, ear: true, stick: true, disable: true }, { center: [59.929849,30.433853], city: «Санкт-Петербург», adress: «Заневский пр., д. 65/1 («О’КЕЙ»)», region: ‘Красногвардейский’, subway: ‘Ладожская’, line: ‘orange-line’, items: [ { name: ‘Платежный терминал’, hours: ‘ 08.
00 — 24.00, без выходных‘ }, { name: ‘Центр приема платежей’, hours: ‘10.00 — 21.00, без выходных’ } ], visaTerminal: false, visaCenter: false, allWeek: true, allDay: false, eye: true, ear: true, stick: true, disable: true }, { center: [59.945779,30.489243], city: «Санкт-Петербург», adress: «Наставников пр., д. 24, к. 1 («Пятерочка»)», region: ‘Красногвардейский’, subway: ‘Ладожская’, line: ‘orange-line’, items: [ { name: ‘Платежный терминал’, hours: ‘
‘ }, { name: ‘Центр приема платежей’, hours: ‘09.30 — 20.30, без выходных
‘ } ], visaTerminal: false, visaCenter: false, allWeek: true, allDay: false, eye: true, ear: true, stick: true, disable: true }, { center: [59.
95689,30.47752],
city: «Санкт-Петербург»,
adress: «Наставников пр., д. 46, к. 2»,
region: ‘Красногвардейский’,
subway: ‘Ладожская’,
line: ‘orange-line’,
items: [
{
name: ‘Платежный терминал’,
hours: ‘пн — сб: 08.45 — 19.45, вс: выходной’
},
{
name: ‘Центр приема платежей’,
hours: ‘пн — сб: 08.45 — 19.45, вс: выходной‘ } ], visaTerminal: false, visaCenter: false, allWeek: false, allDay: false, eye: true, ear: true, stick: true, disable: true }, { center: [59.931017,30.409652], city: «Санкт-Петербург», adress: «Новочеркасский пр., д. 37, к.1», region: ‘Красногвардейский’, subway: ‘Новочеркасская’, line: ‘orange-line’, items: [ { name: ‘Платежный терминал’, hours: ‘ пн — сб: 08.
45 — 19.45, вс: выходной‘ }, { name: ‘Центр приема платежей’, hours: ‘пн — сб: 08.45 — 19.45, вс: выходной’ } ], visaTerminal: false, visaCenter: false, allWeek: false, allDay: false, eye: true, ear: true, stick: true, disable: false }, { center: [59.989811,30.438508], city: «Санкт-Петербург», adress: «Пискаревский пр., д. 59 («Лента»)», region: ‘Красногвардейский’, subway: ‘Площадь Мужества’, line: ‘red-line’, items: [ { name: ‘Платежный терминал’, hours: ‘круглосуточно.’ }, ], visaTerminal: false, visaCenter: false, allWeek: true, allDay: true, eye: false, ear: false, stick: false, disable: false }, { center: [59.949334,30.
465707],
city: «Санкт-Петербург»,
adress: «Ударников пр., д. 19, к. 1»,
region: ‘Красногвардейский’,
subway: ‘Ладожская’,
line: ‘orange-line’,
items: [
{
name: ‘Платежный терминал’,
hours: ‘пн — сб: 08.45 — 19.45, вс: выходной’
},
{
name: ‘Центр приема платежей’,
hours: ‘пн — сб: 08.45 — 19.45, вс: выходной‘ } ], visaTerminal: false, visaCenter: false, allWeek: false, allDay: false, eye: true, ear: true, stick: true, disable: true }, { center: [59.93481,30.496894], city: «Санкт-Петербург», adress: «Хасанская ул., д. 17, к. 1 («Лента»)», region: ‘Красногвардейский’, subway: ‘Проспект Большевиков’, line: ‘orange-line’, items: [ { name: ‘Платежный терминал’, hours: ‘круглосуточно‘ }, ], visaTerminal: false, visaCenter: false, allWeek: true, allDay: true, eye: false, ear: false, stick: false, disable: false }, { center: [59.
‘ }, { name: ‘Центр приема платежей’, hours: ‘пн — сб: 09.00 — 20.00, перерыв: 13.00 — 13.30, вс: выходной
‘ } ], visaTerminal: false, visaCenter: false, allWeek: true, allDay: false, eye: false, ear: false, stick: false, disable: false }, { center: [59.844082,30.178675], city: «Санкт-Петербург», adress: «П. Германа ул., д. 2 («О’КЕЙ»)», region: ‘Красносельский’, subway: ‘Проспект Ветеранов’, line: ‘red-line’, items: [ { name: ‘Платежный терминал’, hours: ‘08.
00 — 23.00, без выходных‘ }, { name: ‘Центр приема платежей’, hours: ‘10.00 — 21.00, без выходных’ } ], visaTerminal: false, visaCenter: false, allWeek: false, allDay: false, eye: true, ear: true, stick: true, disable: true }, { center: [59.851666,30.093589], city: «Санкт-Петербург», adress: «Петергофское ш., д. 98А («Лента»)», region: ‘Красносельский’, subway: ‘Проспект Ветеранов’, line: ‘red-line’, items: [ { name: ‘Платежный терминал’, hours: ‘круглосуточно
‘ }, ], visaTerminal: false, visaCenter: false, allWeek: true, allDay: true, eye: false, ear: false, stick: false, disable: false }, { center: [59.806374,30.
162314],
city: «Санкт-Петербург»,
adress: «Таллинское ш., д. 159А («Лента»)»,
region: ‘Красносельский’,
subway: ‘Проспект Ветеранов’,
line: ‘red-line’,
items: [
{
name: ‘Платежный терминал’,
hours: ‘круглосуточно‘ }, ], visaTerminal: false, visaCenter: false, allWeek: false, allDay: true, eye: false, ear: false, stick: false, disable: false }, { center: [59.997570948218,29.765941101852], city: «Санкт-Петербург», adress: «Кронштадт, пр. Ленина, д. 13, лит. А», region: ‘Кронштадтcкий’, subway: ‘Чёрная речка’, line: ‘blue-line’, items: [ { name: ‘Клиентский зал’, hours: ‘пн — пт: 10.00 — 19.00, сб, вс: выходной
‘, }, { name: ‘Платежный терминал’, hours: ‘пн — сб: 09.
00 — 21.00, вс: 10.00 — 21.00‘ }, { name: ‘Центр приема платежей’, hours: ‘пн — сб: 09.00 — 20.00, вс: выходной
‘ } ], visaTerminal: false, visaCenter: false, allWeek: true, allDay: false, eye: false, ear: false, stick: false, disable: false }, { center: [60.19725,29.705337], city: «Санкт-Петербург», adress: «Зеленогорск, пр. Ленина, д. 20а, лит. А», region: ‘Курортный’, subway: ‘Старая Деревня’, line: ‘violet-line’, items: [ { name: ‘Платежный терминал’, hours: ‘пн — сб: 09.00 — 20.00, вс: выходной’ }, { name: ‘Центр приема платежей’, hours: ‘пн — сб: 09.00 — 20.00, перерыв: 13.00 — 13.30, вс: выходной
‘ } ], visaTerminal: false, visaCenter: false, allWeek: false, allDay: false, eye: true, ear: true, stick: true, disable: false }, { center: [59.
864548,30.315554],
city: «Санкт-Петербург»,
adress: «Бассейная ул., д. 27»,
region: ‘Московский’,
subway: ‘Парк Победы’,
line: ‘blue-line’,
items: [
{
name: ‘Платежный терминал’,
hours: ‘ пн — сб: 09.45 — 20.45, вс: выходной‘ }, { name: ‘Центр приема платежей’, hours: ‘пн — сб: 09.45 — 20.45, вс: выходной’ } ], visaTerminal: false, visaCenter: false, allWeek: false, allDay: false, eye: true, ear: true, stick: true, disable: false }, { center: [59.851304,30.350139], city: «Санкт-Петербург», adress: «Космонавтов пр., д. 45, лит. А («О’КЕЙ»)», region: ‘Московский’, subway: ‘Московская’, line: ‘blue-line’, items: [ { name: ‘Платежный терминал’, hours: ‘08.
00 — 24.00, без выходных‘ }, { name: ‘Центр приема платежей’, hours: ‘10.00 — 21.00, без выходных’ } ], visaTerminal: false, visaCenter: false, allWeek: true, allDay: false, eye: true, ear: true, stick: true, disable: true }, { center: [59.832579,30.350741], city: «Санкт-Петербург», adress: «Ленсовета ул., д. 88», region: ‘Московский’, subway: ‘Звёздная’, line: ‘blue-line’, items: [ { name: ‘Платежный терминал’, hours: ‘пн — сб: 09.30 — 20.30, вс: 10.00 — 19.00‘ }, { name: ‘Центр приема платежей’, hours: ‘пн — сб: 09.30 — 20.30, вс: 10.00 — 19.00
‘ } ], visaTerminal: false, visaCenter: false, allWeek: true, allDay: false, eye: false, ear: false, stick: false, disable: false }, { center: [59.
9302769656,30.3544434305],
city: «Санкт-Петербург»,
adress: «ул. Стремянная, д. 21/5, лит. А (вход с ул. Марата)»,
region: ‘Центральный’,
subway: ‘Маяковская’,
line: ‘green-line’,
items: [
{
name: ‘Клиентский зал’,
hours: ‘пн -сб: 10.00 до 20.45, вс: выходной’,
},
{
name: ‘Платежный терминал’,
hours: ‘10.00 — 21.00, без выходных’
},
{
name: ‘Центр приема платежей’,
hours: ‘10.00 — 21.00, без выходных’
}
],
visaTerminal: false,
visaCenter: false,
allWeek: false,
allDay: false,
eye: false,
ear: false,
stick: false,
disable: false },
{
center: [59.833027,30.414054],
city: «Санкт-Петербург»,
adress: «Бухарестская ул., д. 89, лит. А («Перекресток»)»,
region: ‘Фрунзенский’,
subway: ‘Международная’,
line: ‘orange-line’,
items: [
{
name: ‘Платежный терминал’,
hours: ‘круглосуточно‘
},
{
name: ‘Центр приема платежей’,
hours: ‘09.
30 — 20.30, без выходных’
}
],
visaTerminal: false,
visaCenter: false,
allWeek: true,
allDay: false,
eye: false,
ear: false,
stick: false,
disable: false },
{
center: [59.985135166804,30.328152812978],
city: «Санкт-Петербург»,
adress: «ул. Белоостровская, д. 6, лит. А («ГУП ТЭК СПб»)»,
region: ‘Приморский’,
subway: ‘Лесная’,
line: ‘red-line’,
items: [
{
name: ‘Платежный терминал’,
hours: ‘ пн — пт: 09.00 -18.00, сб, вс: выходной’
},
],
visaTerminal: false,
visaCenter: false,
allWeek: false,
allDay: false,
eye: false,
ear: false,
stick: false,
disable: false },
{
center: [59.853989,30.305996],
city: «Санкт-Петербург»,
adress: «Новоизмайловский пр., д. 46, к. 1»,
region: ‘Московский’,
subway: ‘Московская’,
line: ‘blue-line’,
items: [
{
name: ‘Платежный терминал’,
hours: ‘пн — сб: 09.
00 — 20.00, вс: выходной’
},
{
name: ‘Центр приема платежей’,
hours: ‘пн — сб: 09.00 — 20.00, вс: выходной‘
}
],
visaTerminal: false,
visaCenter: false,
allWeek: false,
allDay: false,
eye: false,
ear: false,
stick: false,
disable: false },
{
center: [59.859817,30.467715],
city: «Санкт-Петербург»,
adress: «Бабушкина ул., д. 125 («Лента»)»,
region: ‘Невский (левый берег)’,
subway: ‘Пролетарская’,
line: ‘green-line’,
items: [
{
name: ‘Платежный терминал’,
hours: ‘круглосуточно
‘
},
{
name: ‘Центр приема платежей’,
hours: ‘09.30 — 20.30, без выходных’
}
],
visaTerminal: false,
visaCenter: false,
allWeek: false,
allDay: true,
eye: true,
ear: true,
stick: true,
disable: true },
{
center: [59.
895502,30.426738],
city: «Санкт-Петербург»,
adress: «О. Берггольц ул., д. 11»,
region: ‘Невский (левый берег)’,
subway: ‘Елизаровская’,
line: ‘green-line’,
items: [
{
name: ‘Платежный терминал’,
hours: ‘пн — сб: 09.30 — 20.30, вс: 10.00 — 19.00‘
},
{
name: ‘Центр приема платежей’,
hours: ‘пн — сб: 09.30 — 20.30, вс: 10.00 — 19.00
‘
}
],
visaTerminal: false,
visaCenter: false,
allWeek: false,
allDay: false,
eye: true,
ear: true,
stick: true,
disable: true },
{
center: [59.834564,30.50482],
city: «Санкт-Петербург»,
adress: «Прибрежная ул., д. 11»,
region: ‘Невский (левый берег)’,
subway: ‘Рыбацкое’,
line: ‘green-line’,
items: [
{
name: ‘Платежный терминал’,
hours: ‘ пн — сб: 09.
15 — 20.15, вс: выходной
‘
},
{
name: ‘Центр приема платежей’,
hours: ‘пн — сб: 09.15 — 20.15, вс: выходной’
}
],
visaTerminal: false,
visaCenter: false,
allWeek: false,
allDay: false,
eye: false,
ear: false,
stick: false,
disable: false },
{
center: [59.909832,30.449535],
city: «Санкт-Петербург»,
adress: «Дальневосточный пр., д. 16 («Лента»)»,
region: ‘Невский (правый берег)’,
subway: ‘Улица Дыбенко’,
line: ‘orange-line’,
items: [
{
name: ‘Платежный терминал’,
hours: ‘круглосуточно
‘
},
],
visaTerminal: false,
visaCenter: false,
allWeek: true,
allDay: true,
eye: false,
ear: false,
stick: false,
disable: false },
{
center: [59.
901008,30.46418],
city: «Санкт-Петербург»,
adress: «Дыбенко ул., д. 13, к. 1»,
region: ‘Невский (правый берег)’,
subway: ‘Улица Дыбенко’,
line: ‘orange-line’,
items: [
{
name: ‘Платежный терминал’,
hours: ‘пн — сб: 09.15 — 20.15, вс: выходной’
},
{
name: ‘Центр приема платежей’,
hours: ‘пн — сб: 09.15 — 20.15, вс: выходной
‘
}
],
visaTerminal: false,
visaCenter: false,
allWeek: false,
allDay: false,
eye: true,
ear: true,
stick: true,
disable: true },
{
center: [59.904207,30.476792],
city: «Санкт-Петербург»,
adress: «Дыбенко ул., д. 25, к. 1»,
region: ‘Невский (правый берег)’,
subway: ‘Улица Дыбенко’,
line: ‘orange-line’,
items: [
{
name: ‘Платежный терминал’,
hours: ‘ пн — сб: 09.
15 — 20.15, вс: 10.00 — 18.00
‘
},
{
name: ‘Центр приема платежей’,
hours: ‘пн — сб: 09.15 — 20.15, вс: 10.00 — 18.00
‘
}
],
visaTerminal: false,
visaCenter: false,
allWeek: false,
allDay: false,
eye: true,
ear: true,
stick: true,
disable: true },
{
center: [59.922995,30.481266],
city: «Санкт-Петербург»,
adress: «Коллонтай ул., д. 28, к. 1»,
region: ‘Невский (правый берег)’,
subway: ‘Проспект Большевиков’,
line: ‘orange-line’,
items: [
{
name: ‘Платежный терминал’,
hours: ‘пн — сб: 09.15 — 20.15, вс: выходной’
},
{
name: ‘Центр приема платежей’,
hours: ‘пн — сб: 09.15 — 20.15, вс: выходной
‘
}
],
visaTerminal: false,
visaCenter: false,
allWeek: false,
allDay: false,
eye: true,
ear: true,
stick: true,
disable: true },
{
center: [59.
911823,30.469471],
city: «Санкт-Петербург»,
adress: «Подвойского ул., д. 16, к. 1»,
region: ‘Невский (правый берег)’,
subway: ‘Проспект Большевиков’,
line: ‘orange-line’,
items: [
{
name: ‘Клиентский зал’,
hours: ‘пн — пт: 10.30 — 19.00, перерыв: 14.30 — 15.00, сб, вс: выходной
‘,
},
{
name: ‘Платежный терминал’,
hours: ‘ пн — сб: 09.30 — 20.15, вс: выходной
‘
},
{
name: ‘Центр приема платежей’,
hours: ‘пн — сб: 09.30 — 20.15, вс: выходной’
}
],
visaTerminal: false,
visaCenter: false,
allWeek: false,
allDay: false,
eye: false,
ear: false,
stick: false,
disable: false },
{
center: [59.962633,30.291137],
city: «Санкт-Петербург»,
adress: «Б. Зеленина ул., д. 17, лит. А»,
region: ‘Петроградский’,
subway: ‘Чкаловская’,
line: ‘violet-line’,
items: [
{
name: ‘Платежный терминал’,
hours: ‘ пн — сб: 09.
00 — 20.00, вс: выходной
‘
},
{
name: ‘Центр приема платежей’,
hours: ‘пн — сб: 09.00 — 20.00, вс: выходной’
}
],
visaTerminal: false,
visaCenter: false,
allWeek: false,
allDay: false,
eye: true,
ear: true,
stick: true,
disable: false },
{
center: [59.956665,30.301055],
city: «Санкт-Петербург»,
adress: «Введенская ул., д. 5/13»,
region: ‘Петроградский’,
subway: ‘Горьковская’,
line: ‘violet-line’,
items: [
{
name: ‘Платежный терминал’,
hours: ‘пн — сб: 08.45 — 19.45, вс: выходной’
},
{
name: ‘Центр приема платежей’,
hours: ‘пн — сб: 08.45 — 19.45, вс: выходной
‘
}
],
visaTerminal: false,
visaCenter: false,
allWeek: false,
allDay: false,
eye: true,
ear: true,
stick: true,
disable: false },
{
center: [59.
967579,30.305385],
city: «Санкт-Петербург»,
adress: «Ординарная ул., д. 19»,
region: ‘Петроградский’,
subway: ‘Петроградская’,
line: ‘blue-line’,
items: [
{
name: ‘Платежный терминал’,
hours: ‘пн — сб: 08.45 — 19.45, вс: выходной’
},
{
name: ‘Центр приема платежей’,
hours: ‘пн — сб: 08.45 — 19.45, вс: выходной
‘
}
],
visaTerminal: false,
visaCenter: false,
allWeek: false,
allDay: false,
eye: true,
ear: true,
stick: true,
disable: true },
{
center: [59.869463,29.828146],
city: «Санкт-Петербург»,
adress: «Петергоф, Гостилицкое ш., д. 58, лит. А»,
region: ‘Петродворцовый’,
subway: ‘Ленинский проспект’,
line: ‘red-line’,
items: [
{
name: ‘Платежный терминал’,
hours: ‘круглосуточно
‘
},
],
visaTerminal: false,
visaCenter: false,
allWeek: true,
allDay: true,
eye: false,
ear: false,
stick: false,
disable: false },
{
center: [59.
876436,29.918516],
city: «Санкт-Петербург»,
adress: «Петергоф, ул. Константиновская, д. 8, лит. А»,
region: ‘Петродворцовый’,
subway: ‘Ленинский проспект’,
line: ‘red-line’,
items: [
{
name: ‘Клиентский зал’,
hours: ‘пн — пт: 10.00 — 18.30, сб, вс: выходной
‘,
},
{
name: ‘Платежный терминал’,
hours: ‘пн — сб: 08.00 — 20.00, вс: выходной’
},
{
name: ‘Центр приема платежей’,
hours: ‘пн — сб: 09.00 — 20.00, перерыв: 13.00 — 13.30, вс: выходной
‘
}
],
visaTerminal: false,
visaCenter: false,
allWeek: false,
allDay: false,
eye: false,
ear: false,
stick: false,
disable: false },
{
center: [59.86922,29.866632],
city: «Санкт-Петербург»,
adress: «Петергоф, ул. Шахматова, д.
14, к. 1 («Дикси»)»,
region: ‘Петродворцовый’,
subway: ‘Проспект Ветеранов’,
line: ‘red-line’,
items: [
{
name: ‘Платежный терминал’,
hours: ‘09.00 — 23.00, без выходных
‘
},
],
visaTerminal: false,
visaCenter: false,
allWeek: true,
allDay: false,
eye: false,
ear: false,
stick: false,
disable: false },
{
center: [60.000025,30.270485],
city: «Санкт-Петербург»,
adress: «Богатырский пр., д. 13А («О’КЕЙ»)»,
region: ‘Приморский’,
subway: ‘Комендантский проспект’,
line: ‘violet-line’,
items: [
{
name: ‘Платежный терминал’,
hours: ‘круглосуточно
‘
},
{
name: ‘Центр приема платежей’,
hours: ‘10.00 — 21.00, без выходных’
}
],
visaTerminal: false,
visaCenter: false,
allWeek: true,
allDay: true,
eye: false,
ear: false,
stick: true,
disable: true },
{
center: [60.
003147,30.228246],
city: «Санкт-Петербург»,
adress: «Богатырский пр., д. 42 («О’КЕЙ»)»,
region: ‘Приморский’,
subway: ‘Комендантский проспект’,
line: ‘violet-line’,
items: [
{
name: ‘Платежный терминал’,
hours: ‘08.00 — 24.00, без выходных
‘
},
{
name: ‘Центр приема платежей’,
hours: ‘10.00 — 21.00, без выходных’
}
],
visaTerminal: false,
visaCenter: false,
allWeek: true,
allDay: false,
eye: true,
ear: true,
stick: true,
disable: true },
{
center: [60.022386,30.293428],
city: «Санкт-Петербург»,
adress: «Вербная ул., д. 21, лит. А («Лента»)»,
region: ‘Приморский’,
subway: ‘Удельная’,
line: ‘blue-line’,
items: [
{
name: ‘Платежный терминал’,
hours: ‘круглосуточно
‘
},
{
name: ‘Центр приема платежей’,
hours: ‘09.
30 – 20.30, без выходных’
}
],
visaTerminal: false,
visaCenter: false,
allWeek: true,
allDay: true,
eye: true,
ear: true,
stick: true,
disable: true },
{
center: [60.005392,30.282702],
city: «Санкт-Петербург»,
adress: «Испытателей пр., д. 19, к. 2»,
region: ‘Приморский’,
subway: ‘Пионерская’,
line: ‘blue-line’,
items: [
{
name: ‘Платежный терминал’,
hours: ‘круглосуточно
‘
},
{
name: ‘Центр приема платежей’,
hours: ‘пн — сб: 09.15 — 20.15, вс: 10.00 — 19.00
‘
}
],
visaTerminal: false,
visaCenter: false,
allWeek: true,
allDay: true,
eye: true,
ear: true,
stick: true,
disable: true },
{
center: [60.006587110358,30.262165912688],
city: «Санкт-Петербург»,
adress: «Комендантский пр.
, д. 11″,
region: ‘Приморский’,
subway: ‘Комендантский проспект’,
line: ‘violet-line’,
items: [
{
name: ‘Клиентский зал’,
hours: ‘ пн — сб: 09.30 — 20.30, перерыв: 13.30 — 14.00, вс: выходной
‘,
},
{
name: ‘Центр приема платежей’,
hours: ‘пн- сб: 09.30 — 20.30, вс: 10.00 -19.00
‘
}
],
visaTerminal: false,
visaCenter: false,
allWeek: true,
allDay: false,
eye: false,
ear: false,
stick: false,
disable: false },
{
center: [60.03922,30.239538],
city: «Санкт-Петербург»,
adress: «Парашютная ул., д. 60, лит. А («Лента»)»,
region: ‘Приморский’,
subway: ‘Комендантский проспект’,
line: ‘violet-line’,
items: [
{
name: ‘Платежный терминал’,
hours: ‘круглосуточно
‘
},
{
name: ‘Центр приема платежей’,
hours: ‘09.
30 — 20.30, без выходных’
}
],
visaTerminal: false,
visaCenter: false,
allWeek: true,
allDay: true,
eye: false,
ear: false,
stick: false,
disable: false },
{
center: [59.998661,30.237355],
city: «Санкт-Петербург»,
adress: «Планерная ул., д. 17, лит. А («Лента»)»,
region: ‘Приморский’,
subway: ‘Комендантский проспект’,
line: ‘violet-line’,
items: [
{
name: ‘Платежный терминал’,
hours: ‘круглосуточно
‘
},
{
name: ‘Центр приема платежей’,
hours: ‘09.30 — 20.30, без выходных’
}
],
visaTerminal: false,
visaCenter: false,
allWeek: true,
allDay: true,
eye: true,
ear: true,
stick: true,
disable: true },
{
center: [59.984629,30.226046],
city: «Санкт-Петербург»,
adress: «Савушкина ул.
, д. 112, лит. А («Лента»)»,
region: ‘Приморский’,
subway: ‘Старая Деревня’,
line: ‘violet-line’,
items: [
{
name: ‘Платежный терминал’,
hours: ‘круглосуточно
‘
},
],
visaTerminal: false,
visaCenter: false,
allWeek: true,
allDay: true,
eye: false,
ear: false,
stick: false,
disable: false },
{
center: [59.987048403196,30.226258296325],
city: «Санкт-Петербург»,
adress: «Савушкина ул., д. 123, к. 1»,
region: ‘Приморский’,
subway: ‘Старая Деревня’,
line: ‘violet-line’,
items: [
{
name: ‘Платежный терминал’,
hours: ‘круглосуточно‘
},
{
name: ‘Центр приема платежей’,
hours: ‘пн — сб: 09.15 — 20.15, вс: выходной
‘
}
],
visaTerminal: false,
visaCenter: false,
allWeek: true,
allDay: true,
eye: false,
ear: false,
stick: false,
disable: false },
{
center: [59.
724138,30.411898],
city: «Санкт-Петербург»,
adress: «Пушкин, Октябрьский б-р, д. 16, лит. А»,
region: ‘Пушкинский’,
subway: ‘Купчино’,
line: ‘blue-line’,
items: [
{
name: ‘Клиентский зал’,
hours: ‘пн — пт: 10.00 — 18.30, сб, вс: выходной
‘,
},
{
name: ‘Платежный терминал’,
hours: ‘пн — сб: 09.00 — 20.00, вс: выходной’
},
{
name: ‘Центр приема платежей’,
hours: ‘пн — сб: 09.00 — 20.00, перерыв: 13.00 — 13.30, вс: выходной
‘
}
],
visaTerminal: false,
visaCenter: false,
allWeek: false,
allDay: false,
eye: false,
ear: false,
stick: false,
disable: false },
{
center: [59.798656,30.399223],
city: «Санкт-Петербург»,
adress: «Шушары, Московское ш., д. 16А («Лента»)»,
region: ‘Пушкинский’,
subway: ‘Купчино’,
line: ‘blue-line’,
items: [
{
name: ‘Платежный терминал’,
hours: ‘круглосуточно
‘
},
],
visaTerminal: false,
visaCenter: false,
allWeek: true,
allDay: true,
eye: false,
ear: false,
stick: false,
disable: false },
{
center: [59.
829023979965,30.377969354491],
city: «Санкт-Петербург»,
adress: «Балканская пл., д. 5, лит. Я (ТК «Астра»)»,
region: ‘Фрунзенский’,
subway: ‘Купчино’,
line: ‘blue-line’,
items: [
{
name: ‘Платежный терминал’,
hours: ‘пн — сб: 09.30 — 20.30, вс: выходной’
},
{
name: ‘Центр приема платежей’,
hours: ‘пн — сб: 09.30 — 20.30, вс: выходной
‘
}
],
visaTerminal: false,
visaCenter: false,
allWeek: false,
allDay: false,
eye: true,
ear: true,
stick: true,
disable: true },
{
center: [59.869065,30.368563],
city: «Санкт-Петербург»,
adress: «Будапештская ул., д. 11»,
region: ‘Фрунзенский’,
subway: ‘Международная’,
line: ‘violet-line’,
items: [
{
name: ‘Платежный терминал’,
hours: ‘пн — сб: 09.
00 — 20.00, вс: 10.00 — 18.00‘
},
{
name: ‘Центр приема платежей’,
hours: ‘пн — сб: 09.00 — 20.00, вс: 10.00 — 18.00
‘
}
],
visaTerminal: false,
visaCenter: false,
allWeek: true,
allDay: false,
eye: false,
ear: false,
stick: false,
disable: false },
{
center: [59.849754,30.397974],
city: «Санкт-Петербург»,
adress: «Бухарестская ул., д. 69, лит. А («Лента»)»,
region: ‘Фрунзенский’,
subway: ‘Международная’,
line: ‘violet-line’,
items: [
{
name: ‘Платежный терминал’,
hours: ‘круглосуточно
‘
},
{
name: ‘Центр приема платежей’,
hours: ‘09.30 — 20.30, без выходных’
}
],
visaTerminal: false,
visaCenter: false,
allWeek: true,
allDay: true,
eye: true,
ear: true,
stick: true,
disable: true },
{
center: [59.
857861,30.38979],
city: «Санкт-Петербург»,
adress: «Славы пр., д. 43/49»,
region: ‘Фрунзенский’,
subway: ‘Международная’,
line: ‘violet-line’,
items: [
{
name: ‘Клиентский зал’,
hours: ‘пн — пт: 10.30 — 19.00, обед: 14.30 — 15.00, сб, вс: выходной
‘,
},
{
name: ‘Платежный терминал’,
hours: ‘ пн — сб: 09.15 — 20.15, вс: выходной
‘
},
{
name: ‘Центр приема платежей’,
hours: ‘пн — сб: 09.15 — 20.15, вс: выходной’
}
],
visaTerminal: false,
visaCenter: false,
allWeek: false,
allDay: false,
eye: false,
ear: false,
stick: false,
disable: false },
{
center: [59.944143,30.361988],
city: «Санкт-Петербург»,
adress: «Кирочная ул., д. 30»,
region: ‘Центральный’,
subway: ‘Чернышевская’,
line: ‘red-line’,
items: [
{
name: ‘Платежный терминал’,
hours: ‘пн — сб: 09.
30 — 20.30, вс: выходной’
},
{
name: ‘Центр приема платежей’,
hours: ‘пн — сб: 09.30 — 20.30, вс: выходной
‘
}
],
visaTerminal: false,
visaCenter: false,
allWeek: false,
allDay: false,
eye: true,
ear: true,
stick: true,
disable: true },
{
center: [59.475839,33.85647],
city: «Бокситогорск»,
adress: «Бокситогорск, ул. Красных Cледопытов, д. 4, лит. А»,
region: ‘Другой город’,
subway: »,
line: ‘orange-line’,
items: [
{
name: ‘Платежный терминал’,
hours: ‘Терминал установлен в клиентском офисе ООО «РКС-Энерго». Актуальный режим работы офиса на сайте rks-energo.ru
‘
},
],
visaTerminal: false,
visaCenter: false,
allWeek: false,
allDay: false,
eye: false,
ear: false,
stick: false,
disable: false },
{
center: [59.
474125,33.844325],
city: «Бокситогорск»,
adress: «Бокситогорск, ул. Советская, д. 12″,
region: ‘Другой город’,
subway: »,
line: ‘orange-line’,
items: [
{
name: ‘Платежный терминал’,
hours: ‘Терминал установлен в клиентском офисе АО «ЕИРЦ ЛО». Актуальный режим работы офиса на сайте epd47.ru
‘
},
],
visaTerminal: false,
visaCenter: false,
allWeek: false,
allDay: false,
eye: false,
ear: false,
stick: false,
disable: false },
{
center: [60.962709,34.027392],
city: «Важины»,
adress: «Важины, ул. Школьная, д. 6″,
region: ‘Другой город’,
subway: »,
line: ‘orange-line’,
items: [
{
name: ‘Платежный терминал’,
hours: ‘Терминал установлен в клиентском офисе АО «ЕИРЦ ЛО». Актуальный режим работы офиса на сайте epd47.ru
‘
},
],
visaTerminal: false,
visaCenter: false,
allWeek: false,
allDay: false,
eye: false,
ear: false,
stick: false,
disable: false },
{
center: [59.
443304,29.479788],
city: «Волосово»,
adress: «Волосово, пр. Вингиссара, д.17А»,
region: ‘Другой город’,
subway: »,
line: ‘orange-line’,
items: [
{
name: ‘Платежный терминал’,
hours: ‘Терминал установлен в клиентском офисе ООО «РКС-Энерго». Актуальный режим работы офиса на сайте rks-energo.ru
‘
},
],
visaTerminal: false,
visaCenter: false,
allWeek: false,
allDay: false,
eye: false,
ear: false,
stick: false,
disable: false },
{
center: [59.450326,29.486669],
city: «Волосово»,
adress: «Волосово, пр. Вингиссара, д. 89″,
region: ‘Другой город’,
subway: »,
line: ‘orange-line’,
items: [
{
name: ‘Платежный терминал’,
hours: ‘ Терминал установлен в клиентском офисе АО «ПСК». Актуальный режим работы офиса на сайте pesc.
ru
‘
},
],
visaTerminal: false,
visaCenter: false,
allWeek: false,
allDay: false,
eye: false,
ear: false,
stick: false,
disable: false },
{
center: [59.898887,32.349322],
city: «Волхов»,
adress: «Волхов, ул. Александра Лукьянова, д. 4, лит. А»,
region: ‘Другой город’,
subway: »,
line: ‘orange-line’,
items: [
{
name: ‘Платежный терминал’,
hours: ‘Терминал установлен в клиентском офисе ООО «РКС-Энерго». Актуальный режим работы офиса на сайте rks-energo.ru
‘
},
],
visaTerminal: false,
visaCenter: false,
allWeek: false,
allDay: false,
eye: false,
ear: false,
stick: false,
disable: false },
{
center: [59.903828,32.355807],
city: «Волхов»,
adress: «Волхов, ул. Волгоградская, д.
1, к. А»,
region: ‘Другой город’,
subway: »,
line: ‘orange-line’,
items: [
{
name: ‘Платежный терминал’,
hours: ‘Терминал установлен в клиентском офисе АО «ЕИРЦ ЛО». Актуальный режим работы офиса на сайте epd47.ru
‘
},
],
visaTerminal: false,
visaCenter: false,
allWeek: false,
allDay: false,
eye: false,
ear: false,
stick: false,
disable: false },
{
center: [60.021155,30.647275],
city: «Всеволожск»,
adress: «Всеволожск, Всеволожский пр., д. 17, лит. А»,
region: ‘Другой город’,
subway: »,
line: ‘orange-line’,
items: [
{
name: ‘Платежный терминал’,
hours: ‘Терминал установлен в клиентском офисе АО «ЕИРЦ ЛО». Актуальный режим работы офиса на сайте epd47.ru
‘
},
],
visaTerminal: false,
visaCenter: false,
allWeek: false,
allDay: false,
eye: false,
ear: false,
stick: false,
disable: false },
{
center: [60.
027782,30.619912],
city: «Всеволожск»,
adress: «Всеволожск, ш. Дорога жизни, д. 12 («Лента»)»,
region: ‘Другой город’,
subway: »,
line: ‘orange-line’,
items: [
{
name: ‘Платежный терминал’,
hours: ‘круглосуточно
‘
},
],
visaTerminal: false,
visaCenter: false,
allWeek: true,
allDay: true,
eye: true,
ear: true,
stick: true,
disable: true },
{
center: [60.020876,30.644364],
city: «Всеволожск»,
adress: «Всеволожск, ул. Заводская, д. 8″,
region: ‘Другой город’,
subway: »,
line: ‘orange-line’,
items: [
{
name: ‘Платежный терминал’,
hours: ‘Терминал установлен в клиентском офисе ООО «РКС-Энерго». Актуальный режим работы офиса на сайте rks-energo.ru
‘
},
],
visaTerminal: false,
visaCenter: false,
allWeek: false,
allDay: false,
eye: false,
ear: false,
stick: false,
disable: false },
{
center: [60.
019666,30.649502],
city: «Всеволожск»,
adress: «Всеволожск, Октябрьский пр., д. 89″,
region: ‘Другой город’,
subway: »,
line: ‘orange-line’,
items: [
{
name: ‘Платежный терминал’,
hours: ‘ Терминал установлен в клиентском офисе АО «ПСК». Актуальный режим работы офиса на сайте pesc.ru
‘
},
],
visaTerminal: false,
visaCenter: false,
allWeek: false,
allDay: false,
eye: false,
ear: false,
stick: false,
disable: false },
{
center: [60.711266,28.747248],
city: «Выборг»,
adress: «Выборг, ул. Димитрова, д. 4″,
region: ‘Другой город’,
subway: »,
line: ‘orange-line’,
items: [
{
name: ‘Платежный терминал’,
hours: ‘Терминал установлен в клиентском офисе ООО «РКС-Энерго». Актуальный режим работы офиса на сайте rks-energo.
ru
‘
},
],
visaTerminal: false,
visaCenter: false,
allWeek: false,
allDay: false,
eye: false,
ear: false,
stick: false,
disable: false },
{
center: [60.715703,28.74873],
city: «Выборг»,
adress: «Выборг, ул. Железнодорожная, д. 2 «,
region: ‘Другой город’,
subway: »,
line: ‘orange-line’,
items: [
{
name: ‘Платежный терминал’,
hours: ‘Терминал установлен в клиентском офисе АО «ЕИРЦ ЛО». Актуальный режим работы офиса на сайте epd47.ru
‘
},
],
visaTerminal: false,
visaCenter: false,
allWeek: false,
allDay: false,
eye: false,
ear: false,
stick: false,
disable: false },
{
center: [60.714475,28.730521],
city: «Выборг»,
adress: «Выборг, ул. Северный Вал, д. 3″,
region: ‘Другой город’,
subway: »,
line: ‘orange-line’,
items: [
{
name: ‘Платежный терминал’,
hours: ‘ Терминал установлен в клиентском офисе АО «ПСК».
Актуальный режим работы офиса на сайте pesc.ru
‘
},
],
visaTerminal: false,
visaCenter: false,
allWeek: false,
allDay: false,
eye: false,
ear: false,
stick: false,
disable: false },
{
center: [59.408714,30.349375],
city: «Вырица»,
adress: «Вырица, ул. Жертв Революции, д. 25″,
region: ‘Другой город’,
subway: »,
line: ‘orange-line’,
items: [
{
name: ‘Платежный терминал’,
hours: ‘Терминал установлен в клиентском офисе ООО «РКС-Энерго». Актуальный режим работы офиса на сайте rks-energo.ru
‘
},
],
visaTerminal: false,
visaCenter: false,
allWeek: false,
allDay: false,
eye: false,
ear: false,
stick: false,
disable: false },
{
center: [59.559398,30.127177],
city: «Гатчина»,
adress: «Гатчина, ул.
Карла Маркса, д. 18А»,
region: ‘Другой город’,
subway: »,
line: ‘orange-line’,
items: [
{
name: ‘Платежный терминал’,
hours: ‘Терминал установлен в клиентском офисе ООО «РКС-Энерго». Актуальный режим работы офиса на сайте rks-energo.ru
‘
},
],
visaTerminal: false,
visaCenter: false,
allWeek: false,
allDay: false,
eye: false,
ear: false,
stick: false,
disable: false },
{
center: [59.548281,30.096778],
city: «Гатчина»,
adress: «Гатчина, ул. Старая дорога, д. 2″,
region: ‘Другой город’,
subway: »,
line: ‘orange-line’,
items: [
{
name: ‘Платежный терминал’,
hours: ‘ Терминал установлен в клиентском офисе АО «ПСК». Актуальный режим работы офиса на сайте pesc.ru
‘
},
],
visaTerminal: false,
visaCenter: false,
allWeek: false,
allDay: false,
eye: false,
ear: false,
stick: false,
disable: false },
{
center: [59.
558349,30.127887],
city: «Гатчина»,
adress: «Гатчина, ул. Чкалова, д. 23″,
region: ‘Другой город’,
subway: »,
line: ‘orange-line’,
items: [
{
name: ‘Платежный терминал’,
hours: ‘Терминал установлен в клиентском офисе АО «ЕИРЦ ЛО». Актуальный режим работы офиса на сайте epd47.ru
‘
},
],
visaTerminal: false,
visaCenter: false,
allWeek: false,
allDay: false,
eye: false,
ear: false,
stick: false,
disable: false },
{
center: [59.500474,34.657767],
city: «Ефимовский»,
adress: «Ефимовский, 1 микрорайон, д. 11а»,
region: ‘Другой город’,
subway: »,
line: ‘orange-line’,
items: [
{
name: ‘Платежный терминал’,
hours: ‘ Терминал установлен в клиентском офисе АО «ПСК». Актуальный режим работы офиса на сайте pesc.ru
‘
},
],
visaTerminal: false,
visaCenter: false,
allWeek: false,
allDay: false,
eye: false,
ear: false,
stick: false,
disable: false },
{
center: [59.
375702,28.221895],
city: «Ивангород»,
adress: «Ивангород, Кингисеппское ш., д. 7А»,
region: ‘Другой город’,
subway: »,
line: ‘orange-line’,
items: [
{
name: ‘Платежный терминал’,
hours: ‘Терминал установлен в клиентском офисе ООО «РКС-Энерго». Актуальный режим работы офиса на сайте rks-energo.ru
‘
},
],
visaTerminal: false,
visaCenter: false,
allWeek: false,
allDay: false,
eye: false,
ear: false,
stick: false,
disable: false },
{
center: [59.371805,28.607829],
city: «Кингисепп»,
adress: «Кингисепп, ул. Воровского, д. 3″,
region: ‘Другой город’,
subway: »,
line: ‘orange-line’,
items: [
{
name: ‘Платежный терминал’,
hours: ‘Терминал установлен в клиентском офисе АО «ЕИРЦ ЛО». Актуальный режим работы офиса на сайте epd47.
ru’
},
],
visaTerminal: false,
visaCenter: false,
allWeek: false,
allDay: false,
eye: false,
ear: false,
stick: false,
disable: false },
{
center: [59.366569,28.618968],
city: «Кингисепп»,
adress: «Кингисепп, ул. М. Гражданская, д. 4″,
region: ‘Другой город’,
subway: »,
line: ‘orange-line’,
items: [
{
name: ‘Платежный терминал’,
hours: ‘ Терминал установлен в клиентском офисе АО «ПСК». Актуальный режим работы офиса на сайте pesc.ru
‘
},
],
visaTerminal: false,
visaCenter: false,
allWeek: false,
allDay: false,
eye: false,
ear: false,
stick: false,
disable: false },
{
center: [59.44464,32.024985],
city: «Кириши»,
adress: «Кириши, пр. Героев, д. 16″,
region: ‘Другой город’,
subway: »,
line: ‘orange-line’,
items: [
{
name: ‘Платежный терминал’,
hours: ‘ Терминал установлен в клиентском офисе АО «ПСК».
Актуальный режим работы офиса на сайте pesc.ru
‘
},
],
visaTerminal: false,
visaCenter: false,
allWeek: false,
allDay: false,
eye: false,
ear: false,
stick: false,
disable: false },
{
center: [59.454337,32.023574],
city: «Кириши»,
adress: «Кириши, ул. Комсомольская, д. 3 «,
region: ‘Другой город’,
subway: »,
line: ‘orange-line’,
items: [
{
name: ‘Платежный терминал’,
hours: ‘Терминал установлен в клиентском офисе АО «ЕИРЦ ЛО». Актуальный режим работы офиса на сайте epd47.ru
‘
},
],
visaTerminal: false,
visaCenter: false,
allWeek: false,
allDay: false,
eye: false,
ear: false,
stick: false,
disable: false },
{
center: [59.448739,32.016747],
city: «Кириши»,
adress: «Кириши, пр.
Ленина 26, лит. А»,
region: ‘Другой город’,
subway: »,
line: ‘orange-line’,
items: [
{
name: ‘Платежный терминал’,
hours: ‘Терминал установлен в клиентском офисе ООО «РКС-Энерго». Актуальный режим работы офиса на сайте rks-energo.ru
‘
},
],
visaTerminal: false,
visaCenter: false,
allWeek: false,
allDay: false,
eye: false,
ear: false,
stick: false,
disable: false },
{
center: [59.884451,30.992776],
city: «Кировск»,
adress: «Кировск, б-р Партизанской Славы, д. 5″,
region: »,
subway: »,
line: ‘orange-line’,
items: [
{
name: ‘Платежный терминал’,
hours: ‘Терминал установлен в клиентском офисе АО «ЕИРЦ ЛО». Актуальный режим работы офиса на сайте epd47.ru’
},
],
visaTerminal: false,
visaCenter: false,
allWeek: false,
allDay: false,
eye: false,
ear: false,
stick: false,
disable: false },
{
center: [59.
888749,30.999836],
city: «Кировск»,
adress: «Кировск, ул Северная, д. 16″,
region: ‘Другой город’,
subway: »,
line: ‘orange-line’,
items: [
{
name: ‘Платежный терминал’,
hours: ‘Терминал установлен в клиентском офисе ООО «РКС-Энерго». Актуальный режим работы офиса на сайте rks-energo.ru
‘
},
],
visaTerminal: false,
visaCenter: false,
allWeek: false,
allDay: false,
eye: false,
ear: false,
stick: false,
disable: false },
{
center: [59.884266,30.989353],
city: «Кировск»,
adress: «Кировск, ул. Энергетиков, д. 6″,
region: ‘Другой город’,
subway: »,
line: ‘orange-line’,
items: [
{
name: ‘Платежный терминал’,
hours: ‘ Терминал установлен в клиентском офисе АО «ПСК». Актуальный режим работы офиса на сайте pesc.ru
‘
},
],
visaTerminal: false,
visaCenter: false,
allWeek: false,
allDay: false,
eye: false,
ear: false,
stick: false,
disable: false },
{
center: [59.
619989,30.390258],
city: «Коммунар»,
adress: «Коммунар, ул. Гатчинская, д. 12″,
region: ‘Другой город’,
subway: »,
line: ‘orange-line’,
items: [
{
name: ‘Платежный терминал’,
hours: ‘Терминал установлен в клиентском офисе АО «ЕИРЦ ЛО». Актуальный режим работы офиса на сайте epd47.ru
‘
},
],
visaTerminal: false,
visaCenter: false,
allWeek: false,
allDay: false,
eye: false,
ear: false,
stick: false,
disable: false },
{
center: [59.628316,30.400283],
city: «Коммунар»,
adress: «Коммунар, ул. Ижорская, д. 24″,
region: ‘Другой город’,
subway: »,
line: ‘orange-line’,
items: [
{
name: ‘Платежный терминал’,
hours: ‘Терминал установлен в клиентском офисе ООО «РКС-Энерго». Актуальный режим работы офиса на сайте rks-energo.
ru
‘
},
],
visaTerminal: false,
visaCenter: false,
allWeek: false,
allDay: false,
eye: false,
ear: false,
stick: false,
disable: false },
{
center: [61.125216,29.876888],
city: «Кузнечное»,
adress: «Кузнечное, ул. Молодежная, д. 10, лит. А»,
region: ‘Другой город’,
subway: »,
line: ‘orange-line’,
items: [
{
name: ‘Платежный терминал’,
hours: ‘08.00 — 20.00, без выходных
‘
},
],
visaTerminal: false,
visaCenter: false,
allWeek: true,
allDay: false,
eye: false,
ear: false,
stick: false,
disable: false },
{
center: [60.735554,33.554744],
city: «Лодейное Поле»,
adress: «Лодейное Поле, ул. Карла Маркса, д. 27″,
region: ‘Другой город’,
subway: »,
line: ‘orange-line’,
items: [
{
name: ‘Платежный терминал’,
hours: ‘ Терминал установлен в клиентском офисе ООО «РКС-Энерго».
Актуальный режим работы офиса на сайте rks-energo.ru
‘
},
],
visaTerminal: false,
visaCenter: false,
allWeek: false,
allDay: false,
eye: false,
ear: false,
stick: false,
disable: false },
{
center: [60.738554,33.538853],
city: «Лодейное Поле»,
adress: «Лодейное Поле, ул. Ульяновская, д. 15, к. 1″,
region: ‘Другой город’,
subway: »,
line: ‘orange-line’,
items: [
{
name: ‘Платежный терминал’,
hours: ‘Терминал установлен в клиентском офисе АО «ПСК». Актуальный режим работы офиса на сайте pesc.ru
‘
},
],
visaTerminal: false,
visaCenter: false,
allWeek: false,
allDay: false,
eye: false,
ear: false,
stick: false,
disable: false },
{
center: [59.915089,29.771327],
city: «Ломоносов»,
adress: «Ломоносов, Дворцовый пр.
, д. 22а»,
region: ‘Другой город’,
subway: »,
line: ‘orange-line’,
items: [
{
name: ‘Платежный терминал’,
hours: ‘Терминал установлен в клиентском офисе АО «ЕИРЦ ЛО». Актуальный режим работы офиса на сайте epd47.ru’
},
],
visaTerminal: false,
visaCenter: false,
allWeek: false,
allDay: false,
eye: false,
ear: false,
stick: false,
disable: false },
{
center: [58.738229,29.845187],
city: «Луга»,
adress: «Луга, Железнодорожная ул., д. 2/6″,
region: ‘Другой город’,
subway: »,
line: ‘orange-line’,
items: [
{
name: ‘Платежный терминал’,
hours: ‘Терминал установлен в клиентском офисе АО «ПСК». Актуальный режим работы офиса на сайте pesc.ru
‘
},
],
visaTerminal: false,
visaCenter: false,
allWeek: false,
allDay: false,
eye: false,
ear: false,
stick: false,
disable: false },
{
center: [58.
736183,29.861689],
city: «Луга»,
adress: «Луга, пр. Комсомольский, д. 16″,
region: ‘Другой город’,
subway: »,
line: ‘orange-line’,
items: [
{
name: ‘Платежный терминал’,
hours: ‘Терминал установлен в клиентском офисе ООО «РКС-Энерго». Актуальный режим работы офиса на сайте rks-energo.ru
‘
},
],
visaTerminal: false,
visaCenter: false,
allWeek: false,
allDay: false,
eye: false,
ear: false,
stick: false,
disable: false },
{
center: [58.738696,29.851942],
city: «Луга»,
adress: «Луга, ул. Тоси Петровой, д. 12″,
region: ‘Другой город’,
subway: »,
line: ‘orange-line’,
items: [
{
name: ‘Платежный терминал’,
hours: ‘Терминал установлен в клиентском офисе АО «ЕИРЦ ЛО». Актуальный режим работы офиса на сайте epd47.ru
‘
},
],
visaTerminal: false,
visaCenter: false,
allWeek: false,
allDay: false,
eye: false,
ear: false,
stick: false,
disable: false },
{
center: [60.
064358,30.457973],
city: «Мурино»,
adress: «Мурино, ул. Шоссе Лаврики, д. 85″,
region: ‘Другой город’,
subway: »,
line: ‘orange-line’,
items: [
{
name: ‘Платежный терминал’,
hours: ‘Терминал установлен в клиентском офисе АО «ЕИРЦ ЛО». Актуальный режим работы офиса на сайте epd47.ru’
},
],
visaTerminal: false,
visaCenter: false,
allWeek: false,
allDay: false,
eye: false,
ear: false,
stick: false,
disable: false },
{
center: [60.914625,34.067251],
city: «Никольский»,
adress: «Никольский, пр. Речного Флота, д. 19а»,
region: ‘Другой город’,
subway: »,
line: ‘orange-line’,
items: [
{
name: ‘Платежный терминал’,
hours: ‘Терминал установлен в клиентском офисе АО «ЕИРЦ ЛО». Актуальный режим работы офиса на сайте epd47.
ru
‘
},
],
visaTerminal: false,
visaCenter: false,
allWeek: false,
allDay: false,
eye: false,
ear: false,
stick: false,
disable: false },
{
center: [60.114531,32.322147],
city: «Новая Ладога»,
adress: «Новая Ладога, ул. Луначарского, д. 2″,
region: ‘Другой город’,
subway: »,
line: ‘orange-line’,
items: [
{
name: ‘Платежный терминал’,
hours: ‘ Терминал установлен в клиентском офисе АО «ПСК». Актуальный режим работы офиса на сайте pesc.ru
‘
},
],
visaTerminal: false,
visaCenter: false,
allWeek: false,
allDay: false,
eye: false,
ear: false,
stick: false,
disable: false },
{
center: [59.774593,30.794338],
city: «Отрадное»,
adress: «Отрадное, ул. Заводская, д. 11″,
region: ‘Другой город’,
subway: »,
line: ‘orange-line’,
items: [
{
name: ‘Платежный терминал’,
hours: ‘Терминал установлен в клиентском офисе ООО «РКС-Энерго».
Актуальный режим работы офиса на сайте rks-energo.ru
‘
},
],
visaTerminal: false,
visaCenter: false,
allWeek: false,
allDay: false,
eye: false,
ear: false,
stick: false,
disable: false },
{
center: [59.769868,30.796341],
city: «Отрадное»,
adress: «Отрадное, ул. Лесная, д. 1″,
region: ‘Другой город’,
subway: »,
line: ‘orange-line’,
items: [
{
name: ‘Платежный терминал’,
hours: ‘Терминал установлен в клиентском офисе АО «ЕИРЦ ЛО». Актуальный режим работы офиса на сайте epd47.ru
‘
},
],
visaTerminal: false,
visaCenter: false,
allWeek: false,
allDay: false,
eye: false,
ear: false,
stick: false,
disable: false },
{
center: [59.515592,34.178085],
city: «Пикалево»,
adress: «Пикалево, ул.
Заводская, д. 11 А»,
region: ‘Другой город’,
subway: »,
line: ‘orange-line’,
items: [
{
name: ‘Платежный терминал’,
hours: ‘Терминал установлен в клиентском офисе ООО «РКС-Энерго». Актуальный режим работы офиса на сайте rks-energo.ru
‘
},
],
visaTerminal: false,
visaCenter: false,
allWeek: false,
allDay: false,
eye: false,
ear: false,
stick: false,
disable: false },
{
center: [59.514752,34.178489],
city: «Пикалево»,
adress: «Пикалево, ул. Заводская, д. 16″,
region: ‘Другой город’,
subway: »,
line: ‘orange-line’,
items: [
{
name: ‘Платежный терминал’,
hours: ‘Терминал установлен в клиентском офисе АО «ЕИРЦ ЛО». Актуальный режим работы офиса на сайте epd47.ru
‘
},
],
visaTerminal: false,
visaCenter: false,
allWeek: false,
allDay: false,
eye: false,
ear: false,
stick: false,
disable: false },
{
center: [60.
916772,34.158259],
city: «Подпорожье»,
adress: «Подпорожье, ул. Комсомольская, д. 1а»,
region: ‘Другой город’,
subway: »,
line: ‘orange-line’,
items: [
{
name: ‘Платежный терминал’,
hours: ‘ Терминал установлен в клиентском офисе АО «ЕИРЦ ЛО». Актуальный режим работы офиса на сайте epd47.ru
‘
},
],
visaTerminal: false,
visaCenter: false,
allWeek: false,
allDay: false,
eye: false,
ear: false,
stick: false,
disable: false },
{
center: [61.038907,30.147003],
city: «Приозерск»,
adress: «Приозерск, ул. Калинина, д. 51″,
region: ‘Другой город’,
subway: »,
line: ‘orange-line’,
items: [
{
name: ‘Платежный терминал’,
hours: ‘ Терминал установлен в клиентском офисе АО «ПСК». Актуальный режим работы офиса на сайте pesc.
ru
‘
},
],
visaTerminal: false,
visaCenter: false,
allWeek: false,
allDay: false,
eye: false,
ear: false,
stick: false,
disable: false },
{
center: [60.255908,29.61078],
city: «Рощино»,
adress: «Рощино, ул. Советская, д. 57″,
region: ‘Другой город’,
subway: »,
line: ‘orange-line’,
items: [
{
name: ‘Платежный терминал’,
hours: ‘ Терминал установлен в клиентском офисе АО «ПСК». Актуальный режим работы офиса на сайте pesc.ru
‘
},
],
visaTerminal: false,
visaCenter: false,
allWeek: false,
allDay: false,
eye: false,
ear: false,
stick: false,
disable: false },
{
center: [61.106737,28.863382],
city: «Светогорск»,
adress: «Светогорск, ул. Победы, д. 28″,
region: ‘Другой город’,
subway: »,
line: ‘orange-line’,
items: [
{
name: ‘Платежный терминал’,
hours: ‘Терминал установлен в клиентском офисе ООО «РКС-Энерго».
Актуальный режим работы офиса на сайте rks-energo.ru’
},
],
visaTerminal: false,
visaCenter: false,
allWeek: false,
allDay: false,
eye: false,
ear: false,
stick: false,
disable: false },
{
center: [60.147804,30.215571],
city: «Сертолово»,
adress: «Сертолово, Парковый проезд, д. 2, к. 1″,
region: ‘Другой город’,
subway: »,
line: ‘orange-line’,
items: [
{
name: ‘Платежный терминал’,
hours: ‘Терминал установлен в клиентском офисе АО «ЕИРЦ ЛО». Актуальный режим работы офиса на сайте epd47.ru’
},
],
visaTerminal: false,
visaCenter: false,
allWeek: false,
allDay: false,
eye: false,
ear: false,
stick: false,
disable: false },
{
center: [60.146048,30.207962],
city: «Сертолово»,
adress: «Сертолово, ул.
Школьная, д. 2″,
region: ‘Другой город’,
subway: »,
line: ‘orange-line’,
items: [
{
name: ‘Платежный терминал’,
hours: ‘ Терминал установлен в клиентском офисе АО «ПСК». Актуальный режим работы офиса на сайте pesc.ru
‘
},
],
visaTerminal: false,
visaCenter: false,
allWeek: false,
allDay: false,
eye: false,
ear: false,
stick: false,
disable: false },
{
center: [60.086057,29.955841],
city: «Санкт-Петербург»,
adress: «Сестрорецк, ул. Токарева, д. 1»,
region: ‘Курортный’,
subway: ‘Старая Деревня’,
line: ‘violet-line’,
items: [
{
name: ‘Платежный терминал’,
hours: ‘Терминал установлен в клиентском офисе АО «ПСК». Актуальный режим работы офиса на сайте pesc.ru
‘
},
],
visaTerminal: false,
visaCenter: false,
allWeek: false,
allDay: false,
eye: false,
ear: false,
stick: false,
disable: false },
{
center: [59.
121786,28.08342],
city: «Сланцы»,
adress: «Сланцы, ул. Грибоедова, д. 1″,
region: ‘Другой город’,
subway: »,
line: ‘orange-line’,
items: [
{
name: ‘Платежный терминал’,
hours: ‘Терминал установлен в клиентском офисе АО «ЕИРЦ ЛО». Актуальный режим работы офиса на сайте epd47.ru
‘
},
],
visaTerminal: false,
visaCenter: false,
allWeek: false,
allDay: false,
eye: false,
ear: false,
stick: false,
disable: false },
{
center: [59.116617,28.087705],
city: «Сланцы»,
adress: «Сланцы, ул. Кирова, д. 39″,
region: ‘Другой город’,
subway: »,
line: ‘orange-line’,
items: [
{
name: ‘Платежный терминал’,
hours: ‘Терминал установлен в клиентском офисе ООО «РКС-Энерго». Актуальный режим работы офиса на сайте rks-energo.ru
‘
},
],
visaTerminal: false,
visaCenter: false,
allWeek: false,
allDay: false,
eye: false,
ear: false,
stick: false,
disable: false },
{
center: [59.
117592,28.086555],
city: «Сланцы»,
adress: «Сланцы, ул. Ленина, д. 10″,
region: ‘Другой город’,
subway: »,
line: ‘orange-line’,
items: [
{
name: ‘Платежный терминал’,
hours: ‘ Терминал установлен в клиентском офисе АО «ПСК». Актуальный режим работы офиса на сайте pesc.ru
‘
},
],
visaTerminal: false,
visaCenter: false,
allWeek: false,
allDay: false,
eye: false,
ear: false,
stick: false,
disable: false },
{
center: [60.531042,28.669687],
city: «Советский»,
adress: «Советский, ул. Школьная, д. 27″,
region: ‘Другой город’,
subway: »,
line: ‘orange-line’,
items: [
{
name: ‘Платежный терминал’,
hours: ‘Терминал установлен в клиентском офисе ООО «РКС-Энерго». Актуальный режим работы офиса на сайте rks-energo.ru’
},
],
visaTerminal: false,
visaCenter: false,
allWeek: false,
allDay: false,
eye: false,
ear: false,
stick: false,
disable: false },
{
center: [60.
558316,30.221985],
city: «Сосново»,
adress: «Сосново, ул. Механизаторов, д. 11″,
region: ‘Другой город’,
subway: »,
line: ‘orange-line’,
items: [
{
name: ‘Платежный терминал’,
hours: ‘Терминал установлен в клиентском офисе АО «ПСК». Актуальный режим работы офиса на сайте pesc.ru
‘
},
],
visaTerminal: false,
visaCenter: false,
allWeek: false,
allDay: false,
eye: false,
ear: false,
stick: false,
disable: false },
{
center: [59.902758,29.101876],
city: «Сосновый Бор»,
adress: «Сосновый Бор, ул. Петра Великого, д. 9″,
region: ‘Другой город’,
subway: »,
line: ‘orange-line’,
items: [
{
name: ‘Платежный терминал’,
hours: ‘Терминал установлен в клиентском офисе ООО «РКС-Энерго». Актуальный режим работы офиса на сайте rks-energo.
ru
‘
},
],
visaTerminal: false,
visaCenter: false,
allWeek: false,
allDay: false,
eye: false,
ear: false,
stick: false,
disable: false },
{
center: [59.730116,30.615187],
city: «п. Тельмана»,
adress: «п. Тельмана, д. 2Б («Лента»)»,
region: ‘Другой город’,
subway: »,
line: ‘orange-line’,
items: [
{
name: ‘Платежный терминал’,
hours: ‘круглосуточно
‘
},
],
visaTerminal: false,
visaCenter: false,
allWeek: true,
allDay: true,
eye: false,
ear: false,
stick: false,
disable: false },
{
center: [59.645078,33.563233],
city: «Тихвин»,
adress: «Тихвин, 1а микрорайон, д. 37″,
region: ‘Другой город’,
subway: »,
line: ‘orange-line’,
items: [
{
name: ‘Платежный терминал’,
hours: ‘ Терминал установлен в клиентском офисе АО «ПСК».
Актуальный режим работы офиса на сайте pesc.ru
‘
},
],
visaTerminal: false,
visaCenter: false,
allWeek: false,
allDay: false,
eye: false,
ear: false,
stick: false,
disable: false },
{
center: [59.644541,33.508274],
city: «Тихвин»,
adress: «Тихвин, ул. Советская, д. 41″,
region: ‘Другой город’,
subway: »,
line: ‘orange-line’,
items: [
{
name: ‘Платежный терминал’,
hours: ‘Терминал установлен в клиентском офисе ООО «РКС-Энерго». Актуальный режим работы офиса на сайте rks-energo.ru
‘
},
],
visaTerminal: false,
visaCenter: false,
allWeek: false,
allDay: false,
eye: false,
ear: false,
stick: false,
disable: false },
{
center: [59.644859,33.545347],
city: «Тихвин»,
adress: «Тихвин, 1 микрорайон.
, д. 2″,
region: ‘Другой город’,
subway: »,
line: ‘orange-line’,
items: [
{
name: ‘Платежный терминал’,
hours: ‘Терминал установлен в клиентском офисе АО «ЕИРЦ ЛО». Актуальный режим работы офиса на сайте epd47.ru
‘
},
],
visaTerminal: false,
visaCenter: false,
allWeek: false,
allDay: false,
eye: false,
ear: false,
stick: false,
disable: false },
{
center: [59.540299,30.863813],
city: «Тосно»,
adress: «Тосно, ш. Барыбина, д. 16″,
region: ‘Другой город’,
subway: »,
line: ‘orange-line’,
items: [
{
name: ‘Платежный терминал’,
hours: ‘Терминал установлен в клиентском офисе ООО «РКС-Энерго». Актуальный режим работы офиса на сайте rks-energo.ru
‘
},
],
visaTerminal: false,
visaCenter: false,
allWeek: false,
allDay: false,
eye: false,
ear: false,
stick: false,
disable: false },
{
center: [59.
547013,30.864595],
city: «Тосно»,
adress: «Тосно, пр. Ленина, д. 19″,
region: ‘Другой город’,
subway: »,
line: ‘orange-line’,
items: [
{
name: ‘Платежный терминал’,
hours: ‘Терминал установлен в клиентском офисе АО «ЕИРЦ ЛО». Актуальный режим работы офиса на сайте epd47.ru’
},
],
visaTerminal: false,
visaCenter: false,
allWeek: false,
allDay: false,
eye: false,
ear: false,
stick: false,
disable: false },
{
center: [59.537885,30.851758],
city: «Тосно»,
adress: «Тосно, ул. Энергетиков, д. 7″,
region: ‘Другой город’,
subway: »,
line: ‘orange-line’,
items: [
{
name: ‘Платежный терминал’,
hours: ‘ Терминал установлен в клиентском офисе АО «ПСК». Актуальный режим работы офиса на сайте pesc.ru
‘
},
],
visaTerminal: false,
visaCenter: false,
allWeek: false,
allDay: false,
eye: false,
ear: false,
stick: false,
disable: false },
{
center: [59.
945752,31.034215],
city: «Шлиссельбург»,
adress: «Шлиссельбург, ул. Жука, д. 3″,
region: »,
subway: »,
line: ‘orange-line’,
items: [
{
name: ‘Платежный терминал’,
hours: ‘Терминал установлен в клиентском офисе АО «ЕИРЦ ЛО». Актуальный режим работы офиса на сайте epd47.ru
‘
},
],
visaTerminal: false,
visaCenter: false,
allWeek: false,
allDay: false,
eye: false,
ear: false,
stick: false,
disable: false },
]
Фильтр
РайонВсе районыАдмиралтейскийВасилеостровскийВыборгскийКалининскийКировскийКолпинскийКрасногвардейскийКрасносельскийКронштадтcкийКурортныйМосковскийНевский (левый берег)Невский (правый берег)ПетроградскийПетродворцовыйПриморскийПушкинскийФрунзенскийЦентральныйСтанция метроВсе станцииАвтовоАкадемическаяБалтийскаяВасилеостровскаяГорьковскаяГражданский проспектЕлизаровскаяЗвёзднаяКомендантский проспектКупчиноЛадожскаяЛенинский проспектЛеснаяМаяковскаяМеждународнаяМосковскаяНарвскаяНовочеркасскаяПарк ПобедыПетроградскаяПионерскаяПлощадь ЛенинаПлощадь МужестваПриморскаяПролетарскаяПроспект БольшевиковПроспект ВетерановПроспект ПросвещенияРыбацкоеСенная площадьСтарая ДеревняТехнологический институтУдельнаяУлица ДыбенкоЧёрная речкаЧернышевскаяЧкаловскаяНаселенный пунктВсе населенные пунктыСанкт-ПетербургБокситогорскВажиныВолосовоВолховВсеволожскВыборгВырицаГатчинаЕфимовскийИвангородКингисеппКиришиКировскКоммунарКузнечноеЛодейное ПолеЛомоносовЛугаМуриноНикольскийНовая ЛадогаОтрадноеПикалевоПодпорожьеПриозерскРощиноСветогорскСертоловоСланцыСоветскийСосновоСосновый Борп.
ТельманаТихвинТосноШлиссельбург
На карте
Списком
Сильфонные компенсаторы СКУ.М / 2СКУ.М от производителя
Хотите узнать цены и сроки поставки?
Напишите нам на почту или оставьте заявку на сайте и мы отправим КП или счет на оплату с ценами значительно ниже рыночных.
Оставить заявку
СКУ.М, 2 СКУ.М— сильфонное компенсатор в защитном кожухе с тепловой изоляцией из минеральной ваты или скорлупы из полиуретана. Такие компенсаторы применяются на тепловых магистралях, причем как подземного, так и надземного типа. Давление в таких системах обычно составляет , а в роли теплоносителя может выступать вода или пар и другие рабочие среды. Чтобы компенсировать температурные расширения, которые неминуемо возникнут при транспортировке теплоносителя, используются компенсаторы СКУ.М.
Конструкция компенсатора усилена жестким кожухом, который защищает устройство от различных пагубных механических воздействий.
Дополнительно оберегает и сам сильфон от внешних факторов и попадания на рабочую часть грязи, воды.
Рассматривая конструктивные особенности сильфонных компенсационных устройств типа СКУ, стоит отметить наличие двух обечаек с зазором. Этот зазор помогает компенсатору компенсировать небольшие нарушения соосности системы, которые могут возникать при монтаже.
Сильфонные компенсаторы типа СКУ.М могут быть двух видов:
- односекционные устройства СКУ.М, с одним сильфоном.
- двухсекционные устройства 2 СКУ.М, с двумя сильфонами, сваренными между собой промежуточным патрубком.
Стоит отметить, что сильфонные компенсаторы СКУ.М, имеют целый спектр положительных качеств, среди которых:
- высокая износоустойчивость и отсутствие необходимости в ремонте;
- длительный срок эксплуатации;
- надежность устройства и большой запас хода;
- удачная конструкция, позволяющая защитить сильфон от различных негативных воздействий;
- простота монтажа устройства на магистраль;
- возможность работы с теплоносителем экстремально высокой температуры, до 450°C и выше.

Технические характеристики СКУ.М представлены в следующем диапазоне:
- Условный диаметр Ду: от 20 до 2200мм
- Рабочее давление Ру: стандартные (1,0 мПА) 10 кгс/см2 и (2,5 мПА) 25 кгс/см2 и больше!
- Наши стандартные компенсаторы могут выдерживать давление до 170 (17,0 мПА) 170 кгс/см2!
- Температурный режим: от -250°C до +950°C.
- Раьбочая среда: пар, вода, канализация, нефтепродукты и другие.
Для изготовления осевого сильфонного компенсатора используем следующие материалы :
- Сильфон и внутренний экран — 08х18н10т, 12х18н10т, 10х17н13м2т, 20х23н18 и другие по запросу.
- Патрубки — Ст.20, ст. 3сп, 09г2с, 17г1с, 08х18н10т, 12х18н10т, 08х17н13м2т, 10х17н13м2т, 20х23н18 и другие пор запросу.

- Защитный кожух — Ст.20, ст. 3сп, 09г2с, 17г1с, 08х18н10т, 12х18н10т, 10х17н13м2т и другие по запросу.
Внутренний экран в конструкцию компенсатора по желанию заказчика.
Данный тип компенсаторов производится в соответствии с требованиями ГОСТ 27036-86, ГОСТ 32935-2014.
Срок службы наших компенсаторов 30 лет. Гарантия до 10 лет.
СКУ.М 16 | Размеры | Рабочее давление | Осевой ход | Осевая жёсткость | |||
Модель компенсатора | DN | D*S, мм | D1, мм | L, мм | PN | (±λ) — мм | H/мм Pn |
СКУ. | 50 | 57*4 | 159 | 800 | 16 | 80 (± 40) | 327 |
СКУ.М 65-16-80 | 65 | 76*4 | 159 | 810 | 16 | 80 (± 40) | 395 |
СКУ.М 80-16-90 | 80 | 89*4 | 219 | 818 | 16 | 90 (± 45) | 436 |
СКУ.М 100-16-100 | 100 | 108*4 | 219 | 910 | 16 | 100 (± 50) | 558 |
СКУ.М 125-16-100 | 125 | 133*4 | 273 | 915 | 16 | 100 (± 50) | 340 |
СКУ.М 150-16-100 | 150 | 159*5 | 325 | 960 | 16 | 100 (± 50) | 464 |
СКУ. | 200 | 219*6 | 377 | 1028 | 16 | 160 (± 80) | 366 |
СКУ.М 250-16-160 | 250 | 273*7 | 426 | 1137 | 16 | 160 (± 80) | 388 |
СКУ.М 300-16-180 | 300 | 325*7 | 530 | 1260 | 16 | 180 (± 90) | 423 |
СКУ.М 350-16-180 | 350 | 377*7 | 530 | 1260 | 16 | 180 (± 90) | 465 |
СКУ.М 400-16-190 | 400 | 426*8 | 630 | 1320 | 16 | 190 (± 95) | 550 |
СКУ. | 500 | 530*8 | 720 | 1520 | 16 | 200 (± 100) | 608 |
СКУ.М 600-16-200 | 600 | 630*8 | 820 | 1650 | 16 | 200 (±100) | 621 |
СКУ.М 700-16-210 | 700 | 720*8 | 920 | 1680 | 16 | 210 (± 105) | 698 |
СКУ.М 800-16-210 | 800 | 820*9 | 1025 | 1710 | 16 | 210 (± 105) | 637 |
Характеристики сильфонных компенсаторов в таблице носят информационный характер. Возможно полное изменение всех технических характеристик по требованию «Заказчика».
Запрос стоимости и сроков изготовления СКУ.М, запрашивайте у наших специалистов | |||||||
СКУ.М 25 | Размеры | Рабочее давление | Осевой ход | Осевая жёсткость | |||
Модель компенсатора | DN | D*S, мм | D1, мм | L, мм | PN | (±λ) — мм | H/мм Pn |
СКУ.М 50-25-80 | 50 | 57*4 | 159 | 865 | 25 | 80 (± 40) | 327 |
СКУ. | 65 | 76*4 | 159 | 870 | 25 | 80 (± 40) | 395 |
СКУ.М 80-25-90 | 80 | 89*4 | 219 | 895 | 25 | 90 (± 45) | 436 |
СКУ.М 100-25-100 | 100 | 108*4 | 219 | 987 | 25 | 100 (± 50) | 558 |
СКУ.М 125-25-100 | 125 | 133*4 | 273 | 1005 | 25 | 100 (± 50) | 340 |
СКУ.М 150-25-100 | 150 | 159*5 | 325 | 1052 | 5 | 100 (± 50) | 464 |
СКУ.М200-25-160 | 200 | 219*6 | 377 | 1133 | 25 | 160 (± 80) | 366 |
СКУ. | 250 | 273*7 | 426 | 1288 | 25 | 160 (± 80) | 388 |
СКУ.М 300-25-180 | 300 | 325*7 | 530 | 1377 | 25 | 180 (± 90) | 423 |
СКУ.М 350-25-180 | 350 | 377*7 | 530 | 1385 | 25 | 180 (± 90) | 465 |
СКУ.М 400-25-190 | 400 | 426*8 | 630 | 1443 | 25 | 190 (± 95) | 550 |
СКУ.М 500-25-200 | 500 | 530*8 | 720 | 1647 | 25 | 200 (± 100) | 608 |
СКУ. | 600 | 630*8 | 820 | 1786 | 25 | 200 (±100) | 621 |
СКУ.М 700-25-210 | 700 | 720*8 | 920 | 1895 | 25 | 210 (± 105) | 698 |
СКУ.М 800-25-210 | 800 | 820*9 | 1025 | 1947 | 25 | 210 (± 105) | 637 |
Характеристики сильфонных компенсаторов в таблице носят информационный характер. Возможно полное изменение всех технических характеристик по требованию «Заказчика».
Запрос стоимости и сроков изготовления СКУ.М, запрашивайте у наших специалистов | |||||||
2СКУ. | Размеры | Рабочее давление | Осевой ход | Осевая жёсткость | |||
Модель компенсатора | DN | D*S, мм | D1, мм | L, мм | PN | (±λ) — мм. | H/мм, Pn 16 |
2СКУ.М 50-16-160 | 50 | 57*4 | 159 | 1212 | 16 | 160 (± 80) | 240 |
2СКУ.М 65-16-160 | 65 | 76*4 | 159 | 1220 | 16 | 160 (± 80) | 240 |
2СКУ. | 80 | 89*4 | 219 | 1250 | 16 | 180 (± 90) | 218 |
2СКУ.М 100-16-200 | 100 | 108*4 | 219 | 1360 | 16 | 200 (± 100) | 279 |
2СКУ.М 125-16-200 | 125 | 133*4 | 273 | 1380 | 16 | 260 (± 130) | 232 |
2СКУ.М 150-16-200 | 150 | 159*5 | 325 | 1420 | 16 | 300 (± 150) | 223 |
2СКУ.М 200-16-320 | 200 | 219*6 | 377 | 1560 | 16 | 320 (± 160) | 183 |
2СКУ. | 250 | 273*7 | 426 | 1850 | 16 | 360 (± 180) | 273 |
2СКУ.М 300-16-360 | 300 | 325*7 | 530 | 1990 | 16 | 360 (± 180) | 296 |
2СКУ.М 350-16-360 | 350 | 377*7 | 530 | 2030 | 16 | 360 (± 180) | 192 |
2СКУ.М 400-16-400 | 400 | 426*8 | 630 | 2110 | 16 | 400 (± 200) | 275 |
2СКУ.М 500-16-420 | 500 | 530*8 | 720 | 2300 | 16 | 420 (± 210) | 304 |
2СКУ. | 600 | 630*8 | 820 | 2460 | 16 | 420 (± 210) | 311 |
2СКУ.М 700-16-420 | 700 | 720*8 | 920 | 2530 | 16 | 420 (± 210) | 349 |
2СКУ.М 800-16-420 | 800 | 820*9 | 1025 | 2620 | 16 | 420 (± 210) | 319 |
Характеристики сильфонных компенсаторов в таблице носят информационный характер. Возможно полное изменение всех технических характеристик по требованию «Заказчика».
Запрос стоимости и сроков изготовления 2СКУ.М, запрашивайте у наших специалистов. | |||||||
Компенсаторы нашего производства — отличная альтернатива других производителей вписанных в проект.
ОАО СУПЕРТЕЛ — Устройство ввода питания и сигнализации (УВПС)
Предназначено:
- — для ввода электропитания от питающих установок узлов связи и доведения его до оборудования, размещаемого в стативе;
- — для обеспечения оборудования, установленного в стативе, общестоечной сигнализации.
Устройства ввода питания и сигнализации сертификации не подлежит
Каждый ввод питания обеспечивается с помощью клеммы UK 2,5 N и автомата защиты по постоянному току С32Н – DCI P, которые размещаются на DIN — рельсе. Длина рельса 250 мм, что позволяет разместить до десяти вводов питания. Клеммы предназначены для подключения «плюса» электропитания (сечение провода от 0,2 до 2,5 мм2), автоматы защиты предназначены для подключения «минуса» электропитания. Количество вводов питания — от 1 до 10 (1-10 авт/3, 6 или 16 А) определяется договором на поставку
УВПС имеет следующие модификации:
| Краткое наименование | Шифр | Обозначение | Комментарий |
|---|---|---|---|
| Устройство ввода питания и сигнализации | УВПС-24/М (1-10 авт/3, 6 или 16 А) |
ТАИЦ. 301412.001 |
С общестоечной сигнализацией; электропитание: минус 24 В±20%; конструктив метрический «М» |
| Устройство ввода питания и сигнализации | УВПС-48/60/М (1-10 авт/3, 6 или 16 А) |
ТАИЦ.301412.001-01 | С общестоечной сигнализацией; электропитание: минус 48 В±20% или минус 60 В±20%; конструктив метрический «М» |
| Устройство ввода питания | УВП/М (1-10авт/3, 6 или 16 А) |
ТАИЦ.301412.001-02 | Без общестоечной сигнализации; электропитание: минус 24 В±20%, минус 48 В±20% или минус 60В±20%; конструктив метрический «М» |
| Устройство ввода питания и сигнализации | УВПС-24/D (1-10 авт/3, 6 или 16 А) |
ТАИЦ.301412.001-03 | С общестоечной сигнализацией; электропитание; минус 24 В±20%, конструктив дюймовый «D» |
| Устройство ввода питания и сигнализации | УВПС-48/60/D (1-10 авт/3, 6 или 16 А) |
ТАИЦ. 301412.001-04 |
С общестоечной сигнализацией; электропитание: минус 48 В±20% или минус 60 В±20%, конструктив дюймовый «D» |
| Устройство ввода питания | УВП/D (1-10 авт/3, 6 или 16 А) |
ТАИЦ.301412.001-05 | Без общестоечной сигнализации; электропитание: минус 24 В±20%, минус 48 В±20% или минус 60 В±20%; конструктив дюймовый «D» |
Условия эксплуатации:
| Наименование параметра | Значение параметра |
|---|---|
| Диапазон рабочих температур | от +5 до +40°С |
| Относительная влажность воздуха | до 90% при Т=30°С |
| Режим работы | круглосуточный |
Основные технические данные
| Наименование параметра | Значение параметра |
|---|---|
Габаритные размеры (ширина x высота x глубина), мм
|
533x88x145 мм 483x88x145 мм 533x88x120 мм 483x88x120 мм |
Количество независимых вводов питания, шт. (определяется договором на поставку) |
от 1 до 10 |
| Номинал автомата защиты, А (определяется договором на поставку) |
3, 6 или 16 |
| Выходные цепи клемм «А», «П», «В» и «З» | «сухие» контакты |
При подключении к одному УВПС нескольких единиц оборудования используются кабели «СТАТИВ-С» и «СТАТИВ».
Схема подключения УВПС к сигнализации оборудования, размещенного в стативе
- Схема1
Примечание: Кабель «Статив-С» ТАИЦ.685622.008 входит в комплект УВПС. Кабели «Статив» ТАИЦ.685622.009 при необходимости заказываются дополнительно.
Схема подключения нескольких УВПС к транспаранту рядовой сигнализации ТРС
- Схема2
Примечание: Кабель «Статив-С» ТАИЦ.
685622.008 входит в комплекты УВПС и ТРС. Кабели «Статив» ТАИЦ.685622.009 и «ТРС-УВПС» ТАИЦ.685621.193 при необходимости заказываются дополнительно.
ЕРМАК 1512М OffLine, инвертор DC-AC с зарядным устройством, 12В/1500Вт
Хотите не зависеть от электросетей? Желаете всегда быть обеспеченным электричеством вне зависимости от доступности ЛЭП и электророзеток? Или, может быть, вы раздумываете над тем, как организовать автономную систему энергоснабжения дома?
Для решения любой из вышеперечисленных задач идеально подойдет новое универсальное устройство «ЕРМАК 1512М», сделанное на базе известного и популярного ИБП «ЕРМАК 1512».
В обновлённой версии изделия «ЕРМАК 1512М» появилась возможность дистанционного управления включением прибора. Дистанционное управление обеспечивается замыканием контактов прибора, расположенных на лицевой стенке посредством внешних «сухих» контактов (выключатель, контакты реле и пр.
).
Мощность инвертора осталась прежней — 1500 Вт. Входное напряжение аккумулятора 12 В.
«ЕРМАК 1512М» совмещает в себе две функции: инвертора и источника бесперебойного питания
Над созданием новой линейки инверторов «ЕРМАК» мы работали долго, и считаем, что у нас получился действительно уникальный продукт, в котором оптимальным образом сочетаются надежность, эффективность, простота в применении и экономичность.
Теперь вы сможете забыть обо всех сложностях, которые возникают при взаимодействии с электрическими сетями: в каких-то местах их просто нет, где-то подключение к ним требует серьезных финансовых и временных затрат, зачастую это просто неудобно и невыгодно.
«ЕРМАК 1512М» — ярчайший представитель современных решений в альтернативной энергетике
Он обладает функционалом обычных инверторов, но главное – позволяет создать качественную и надежную автономную систему энергоснабжения вашего дома.
Это возможно благодаря наличию такой опции, как подключение не только к аккумулятору, но и к любому генератору с дистанционным запуском, а также к системе с альтернативными источниками энергии.
Возможность подключения ЕРМАКА к стационарной сети 220В также существует. Именно это и позволяет использовать его в качестве источника бесперебойного питания.
Как это работает?
Инвертор «ЕРМАК 1512М» имеет встроенное мощное трехстадийное зарядное устройство 50А. Благодаря этому, к инвертору подключаются аккумуляторы большой емкости – до 500 Ач.
Преимущество зарядного устройства «ЕРМАК 1512М»заключается в том, что для зарядки даже полностью разряженных аккумуляторов емкостью 500 Ач ему понадобится не более 10 часов. Для сравнения: зарядка аккумулятора такой же емкости устройством мощностью 15 А продлится 33 часа! Кроме того, трехстадийный способ заряда аккумулятора является более бережным и, как следствие, продлевает срок его службы.
Подзарядка аккумулятора, который питает «ЕРМАК 1512М», происходит за счет подключенного к нему генератора с дистанционным запуском. Причем в инверторе есть сигнальное реле, которое замыкается и запускает генератор при определенном уровне разряда аккумулятора.
Таким образом, обеспечивается бесперебойное энергоснабжение. От генератора в момент заряда аккумулятора работает и подключенное оборудование. После того, как аккумулятор полностью зарядится, генератор выключится благодаря тому же сигнальному реле, и включится инвертор. Кроме того реле можно настроить так, чтобы при определенном уровне разряда аккумулятора продолжали работать не все электроприборы, а только необходимые, например, холодильник, газовый котел, освещение – по вашему выбору.
В результате вы получаете надежную автономную энергетическую систему.
Преимущества инвертора «ЕРМАК 1512»
Удобство и функциональность
Универсальность данного типа инверторов позволяет создавать энергоемкие системы.
Подключение генератора или других источников энергии обеспечивает беспрерывную работу системы, а сигнальное реле (контакт) автоматически контролирует уровень разряда/заряда аккумулятора и при необходимости переключает на требуемый источник энергии – без вашего участия.
Вся важная информация отображается на встроенном ЖК-индикаторе инвертора (входное и выходное напряжение; напряжение на АКБ; ток заряда и разряда АКБ). При этом вы имеете возможность запрограммировать параметры работы системы, в зависимости от типа и емкости аккумулятора, установить напряжение, при котором будет включаться и выключаться генератор, а также настроить задержку его включения/ выключения, емкость аккумулятора, тип аккумулятора.
Еще одним немаловажным преимуществом инвертора «ЕРМАК 1512М» можно назвать тихую работу системы, ведь генератор — основной источник шума — не работает постоянно, а включается только при необходимости.
Сам инвертор компактен, что значительно облегчает его транспортировку и установку.
Надежность
Выходное напряжение инвертора – синусоидальное (как и во всех других инверторах производства «СибКонтакт»!) – это гарантирует стабильное напряжение, как от сети 220 В, синусоидальное и без скачков. Благодаря продуманной системе контроля, бесперебойная работа автономной энергосистемы на основе инвертора «ЕРМАК 1512М» возможна в течение длительного времени.
Экономичность
Организация системы энергообеспечения с помощью инвертора «ЕРМАК 1512М» — это не просто удобно и надежно, но и финансово выгодно. При включении его в систему с генератором с дистанционным запуском, вы сможете существенно сэкономить топливо, так как генератор не работает постоянно, а включается только на время зарядки аккумулятора. Кроме того, вы можете дополнительно к системе с генератором использовать солнечные или ветровые источники энергии со своими контроллерами заряда.
Интеллектуальная система, подключающая генератор при определенном уровне разряда аккумулятора, бережет его от глубокого разряда, который губителен для любого аккумулятора. Благодаря этому, а также уже упоминавшемся бережному трехстадийному зарядному устройству, ваш аккумулятор прослужит вам значительно дольше.
Дополнительно сэкономить вы сможете, определив более и менее важные объекты энергообеспечения и настроив отключение последних при снижении заряда аккумулятора – и такая функция есть в инверторе «ЕРМАК1512М»!
Инвертор «ЕРМАК 1512М» гарантирует вам наличие электроэнергии всегда и везде – где вам это необходимо. Теперь вы сможете не зависеть от электрических сетей и надежности их работы, а сами решаете, где и когда вам нужна энергия, а наш инвертор обеспечит ее вам!
Буксировочный прибор МАЗ 5336-2707210 и седельное устройство
Седельно-сцепное устройство автомобиля МАЗ.

На автомобилях МАЗ применяются два самостоятельных вида сцепных механизма для перемещения полуприцепов, прицепов. К первому относится седельное устройство, а ко второму буксировочный прибор. Седельное устройство применяется на тягачах. Буксировочный прибор используется на бортовых МАЗах, самосвалах, лесовозах, шасси. Он взаимодействует с дышлом. Оно крепиться к раме поворотной тележки прицепа. Все эти сцепные механизмы передают механическое усилие от грузовика на прицепное транспортное средство. Седелка выполняет функцию поворотного механизма для полуприцепа.
Устройство седельное состоит из седла или плиты, запорного механизма, узлов крепления, усилительной подставки. Седло играет роль плавающей опоры для полуприцепа. Оно фиксируется к раме с помощью кронштейнов по шарнирному сочленению. Запор состоит из двух захватов, шкворня, кулака, пружины, рукоятки, предохранительной планки.
Шкворень полуприцепа замыкается двумя захватами, а они запираются кулаком с защелкой.
Предохранительная планка исключает выход запорного кулака из захватов и произвольной саморасцепки п/прицепа и автомобиля. Для уменьшения нагрузки на раму, седло с кронштейнами прикручивается на усилительную подставку.
Буксировочный прибор крепится к задней поперечине рамы. На современных грузовых автомашинах МАЗ применяются беззазорное буксировочное устройство. Её отличительной особенностью является отсутствие минимального зазора между пальцем и отверстием. Состоит из корпуса с буфером, стержня с гайкой, вилки на оси, направляющей петли, запорного пальца. Корпус с буфером закрепляется к раме 4 болтами. Он имеет центральное отверстие, в которое устанавливается стержень в сборе с вилкой и петлей. Стержень зажимается усиленной гайкой М48х2-6Н. В процессе сцепки прицепа с машиной, петля дышла по направляющей попадает в ячейку и запирается пальцем с рычагом. Рычаг с защелкой на пружине и предохранитель не позволяют пальцу открыться. Буфер используются в конструкции для смягчения воздействия продольных осевых нагрузок на буксир.
Плавающее крепление вилки помогает сглаживать нагрузки, возникающие при прохождении транспортных средств по неровностям.
К сцепным приборам относиться также дышло с петлей и поворотный круг. В отличие от седельного и буксировочного, они устанавливаются на прицеп. Дышло фиксируется к кронштейнам поворотной тележки осями. Оси позволяют перемещаться дышлу в вертикальной плоскости. Круг является поворотным узлом в автопоезде с прицепом. На современные прицепы устанавливают круги с z образным профилем юбки крепления.
Устройство приёма видеосигналов УПВС-16 – Группа компаний АСБ
Google+
Вконтакте
УПВС-16
Устройство приёма видеосигналов УПВС-16 предназначено для применения в системах видеонаблюдения в качестве составной части пультового оборудования и обеспечивает:
- подключение и питание до 16 аналоговых видеокамер
- приём симметричных видеосигналов, поступающих от видеокамер по кабелям типа «витая пара» и преобразования их в несимметричные сигналы для передачи на устройства видеорегистрации
- трансляцию сигналов управления поворотными видеокамерами – прием по интерфейсу USB, преобразование и передачу по интерфейсу RS-485
- разветвление выходного напряжения питания видеокамер
Нужна консультация? Обратитесь к специалистам нашей службы поддержки прямо сейчас!
Ключевые характеристики
-
2 активных 8-канальных приемника видеосигнала по кабелю «витая пара» UTP с 4-ступенчатой коррекцией АЧХ для компенсации ВЧ потерь (0-6-12-18 дБ на частоте 4.
43 МГц)
- Преобразователь USB–RS-485 на 2 выходные линии, для управления поворотными видеокамерами по интерфейсу RS-485 от компьютера
- Распределительная колодка для питания 16 видеокамер с индивидуальной токовой защитой по каждому выходу
- Источник напряжения 12 В для питания внутренней схемы
- Схема защиты от грозовых разрядов по всем выходам
- Установка в стойку 19” (высота 2U)
- Крепление на стену
- Диапазон рабочих температур: от 0 до +50°C
- Исполнение: IP20
- Диапазон входных/выходных напряжений: 42÷55 В
- Максимальный ток нагрузки на 1 канал: 1,4 А, но не более 16 А на все каналы
- Полоса пропускания видеотракта: от 25 Гц до 8 МГц
-
Максимальная дальность линии связи:
- для чёрно-белого сигнала: 750 м
- для цветного сигнала: 500 м
УПВС применяется в комплекте с устройствами подключения и питания видеокамер типа УПВК-1У и УПВК-А220/А24-100СУ.
Схема применения УПВС в комплекте с устройствами подключения видеокамер
| Количество выходов для подключения аналоговых видеокамер, шт | не более 16 | |
| Длина линии видеосвязи, м | для цветного видеосигнала | не более 500 |
| для чёрно-белого сигнала | не более 750 | |
| Преобразование видеосигнала | из симметричного (из кабеля типа «витая пара») в несимметричный | |
| Коэффициент передачи при преобразовании видеосигнала | 1,4±0,1 | |
| Полоса пропускания, Гц | от 25 до 8×106 | |
| Неравномерность АЧХ на верхних частотах, дБ | не более 6 | |
| Коррекция усиления | ручная | |
| Преобразователь интерфейса | преобразование интерфейса USB на 2 канала интерфейса RS485 | |
| Ток нагрузки на каждый канал питания видеокамер, А | не более 1,4 | |
| Входное напряжение питания, В | 18÷55 | |
| Ток потребления (без внешних нагрузок), А | при напряжении 18 В | не более 0,17 |
| при напряжении 55 В | не более 0,07 | |
| Встроенная защита от импульсных помех (грозозащита) | Цепи питания и видео, поступающие в линию связи | |
| Степень защиты, обеспечиваемая оболочкой по ГОСТ 14254-96 | IP20 | |
| Диапазон рабочих температур, ºC | от 0 до +50 | |
Программное обеспечение
- КСА ПЦО «Радиосеть» – 206,29 МбВерсия 1.
5.51 от 09-03-2016 - Инструкция по установке/обновлению КСА ПЦО «Радиосеть» – 815,32 Кб
Паспорта
- Устройство подключения видеокамеры УПВК-0,3П (до 0,35А) – Паспорт – 177,76 Кб
- Устройство подключения видеокамеры УПВК-0,3П исп. 2 (до 0,5А) – Паспорт – 150,01 Кб
- Устройство подключения видеокамеры УПВК-0,3П исп. 3 (до 0,3А) – Паспорт – 183,33 Кб
- Устройство подключения видеокамеры УПВК-1У (до 1,7А) – Паспорт – 275,11 Кб
- Устройство подключения видеокамеры УПВК-1У исп. 2 (до 3А) – Паспорт – 309,71 Кб
- Устройство подключения видеокамеры УПВК-А220/А24-100СУ – Паспорт – 234,87 Кб
- Устройство подключения видеокамеры УПВК-А220/А24-100СУ-Е – Паспорт – 269,52 Кб
- Устройство подключения поворотной видеокамеры УППВК – Паспорт – 204,96 Кб
- Устройство приёма видеосигналов УПВС-16 – Паспорт – 411,77 Кб
Сумка на пояс из оникса M-16 — Мужской журнал
Ремень M-16 Ручной надувной спасательный жилет
(89 долларов США, поставляется с 16-граммовым баллоном CO2, onyxoutdoor.
com)
Гребцы, садящиеся в каноэ или каяк, обычно понимают важность ношения правильно подогнанного индивидуального плавучего устройства (PFD), если они окажутся отделенными от своего судна. Однако по мере того, как популярность гребли в стойке продолжает расти, часто гребцы (надеюсь), привязанные к доскам, забывают о законах, установленных на некоторых водных путях, которые классифицируют доски для стоячего спорта как суда — и, таким образом, по закону гребцы должны носить или носить спасательные жилеты.Доступная по цене новая модель M-16 от Onyx выводит низкий профиль на новый уровень с поясной сумкой, которая на самом деле похожа на ремень. Держите ваши плечи свободно раскачивающимися с рюкзаком, который зажимается вокруг вашей талии, вмещая единственную прямоугольную камеру, которая быстро заполняется рывком от рывка шнуром, активируя небольшую камеру с CO2. Накиньте ремень камеры на голову, и вы будете плавать с 17 фунтами плавучести в куртке, одобренной Береговой охраной США (характеристики Тип V / Тип III), с воздушной трубкой, которая может обеспечить взрослых гребцов (старше 16 лет или 80 лет).
фунтов) до 26.5 фунтов плавучести. Объедините простой дизайн M-16 (камера складывается аккордеоном в нейлоновый держатель на липучке) с безумно легким весом, и вы получите один тонкий ремень, который не заставит вас провести параллели с громоздкими поясными вещами.
— Ознакомьтесь с другими советами по безопасному гребле от береговой охраны, а также с дополнительным оборудованием для стоячего гребного снаряжения.
— Редакторы C&K отдают дань уважения Gear We Love.
Статья изначально была опубликована на каноэ и байдарках .
Чтобы получить доступ к эксклюзивным видео о снаряжении, интервью со знаменитостями и многому другому, подпишитесь на YouTube!
Спасательные жилеты и предохранители Onyx M-16 Ручной надувной поясной рюкзак Спасательный жилет M16 Серый PFD NEW Спортивные товары
Оникс M-16 Ручной надувной ремень Спасательный жилет M16 Серый PFD NEW
Оникс M-16 Ручной надувной поясной спасательный жилет M16 Серый PFD NEW 43311056472.
• Используйте комплект для перевооружения M-16 (№ 1370), одобренный береговой охраной США, спасательный жилет типа V / персональное плавсредство PFD с характеристиками типа III. • Защитный нейлоновый оксфордский чехол плотностью 200 ден • Подходит для лиц от 16 лет и старше; и более 80 фунтов .. Состояние: Новое с бирками: Совершенно новый, неиспользованный и неношеный предмет (включая предметы ручной работы) в оригинальной упаковке (например, в оригинальной коробке или сумке) и / или с прикрепленными оригинальными бирками. См. Все определения условий : Товар вне страны: : Нет MPN: : 130100416 : Модель: : 130900-701-004-16 , Модифицированный элемент: Нет : Страна / регион производства: : США , Рекомендуемые уточнения: : Надувной : Бренд: : Onyx Outdoor , UPC: : 0043311056472 ,。
Оникс M-16 Ручной надувной ремень Спасательный жилет M16 Серый PFD NEW
Оникс M-16 Ручной надувной поясной комплект Спасательный жилет M16 Серый PFD NEW
Легкий спальный мешок Походы Походы Походы в холодную погоду Компактные путешествия Походы, 3 упаковки Подлинные инновации Co2 20 г Заправочные картриджи с резьбой Велосипед 3 надувные устройства.
Верхний держатель для переноски для стойки для оружия UTV Охотничьи принадлежности Винтовка Дробовик Rest Hunt. 3 фотоаппарата Planet Air 700×19 / 23 48mm filetto. ПЕРЬЯ КВАДРОБИНЫ. 3,00 мм 20 шт. Silver ICE FLIES Вольфрамовая бусина для завязывания мушек, 4 шт. Наклейки на двери автомобиля Светоотражающие полосы Предупреждающий знак Светоотражающая лента для хвоста сзади, Daiwa carbontex drag 2010 SALTIGA 3500H 4000H 4500H 5000H. Насадка Shires Equestrian с двойным шарниром Sweet Iron Pelham из нержавеющей стали. Мини-низкопрофильный красный лазерный прицел US 2X 20 мм с планкой Пикатинни для пистолетного пистолета G17 19.MagP0433-C eAMP Enforcer Сумка для трех журналов 1911, MAKERSHOT Разработана для журнала HK USP Magazine HK Magazine SPEEDLOADER, 200-1 1/2 «CRAPPIE-BASS-PANFISH-PERCH-TROUT-GRUB-WORM-FISH BAIT-LURE-JIG-STINGER . Tri-Leg стул Охотничий стул Стрельба из лука на открытом воздухе Стрельба из лука Слепой складной, Велосипедный подъемник Велосипед Потолочный шкив Стойка Гараж Крючки Вешалка LOT BP.
Проставки для втулок с внутренним диаметром «Длина x 5/8» для мини-велосипедов и картинг.США, мужские бейсбольные бутсы Nike Air Huarache 2kFilth Elite Low 807129 010. Скоростная загрузка магазина RAEIND для Sig Sauer P238 .380ACP Speedloaders Mag Loader,
Mossy Oak Elements Onyx M-16 Ручной надувной поясной пакет PFD
Mossy Oak Elements. Ручная надувная поясная сумка из оникса M-16 PFD- Home
- Mossy Oak Elements. Ручная надувная поясная упаковка Onyx M-16. Ручная надувная поясная упаковка. PFD
Onyx M-16. Утвержденный береговой охраной США спасательный жилет типа V / персональное плавсредство PFD с характеристиками типа III.Производитель: Onyx Outdoor. 1-дюймовая пряжка и пояс для тела. Wake Zone Marine — это корпорация с ограниченной ответственностью. Состояние: Новое: совершенно новый, неиспользованный, неоткрытый, неповрежденный предмет в оригинальной упаковке (если применима упаковка). Упаковка должна быть такой же, как в розничном магазине, если только товар не сделан вручную или не был упакован производителем в нерозничную упаковку, такую как коробка без надписи или полиэтиленовый пакет.
См. Список продавца для получения полной информации. Просмотреть все определения условий : Торговая марка: : Onyx Outdoor , MPN: 900 130900-855-004-19 : UPC: : Не применяется ,
Saltar al contenido
Mossy Oak Elements Onyx M-16 Ручная надувная поясная сумка PFD
Mossy Oak Elements Onyx M-16 Ручная надувная поясная сумка PFD, Elements Onyx M-16 Ручная надувная поясная сумка PFD Mossy Oak, S, Спасательный жилет типа V, одобренный береговой охраной / Персональное плавучее устройство PFD с характеристиками типа III, Производитель: Onyx Outdoor, 1-дюймовая пряжка и пояс для тела, Wake Zone Marine — корпорация с ограниченной ответственностью, U, Good Product Online быстрая доставка по всему миру. Скидки до 25%. Экономия Бесплатная доставка и бесплатный возврат соответствующих критериям товаров.Oak Elements Onyx M-16 Ручная надувная поясная сумка PFD Mossy.
Mossy Oak Elements Onyx M-16 Ручной надувной поясной пакет PFD
Mossy Oak Elements Onyx M-16 Ручной надувной поясной комплект PFD
S, Утвержденный береговой охраной Спасательный жилет типа V / Персональное плавучее устройство PFD с характеристиками типа III, Производитель: Onyx Outdoor, пряжка 1 ”и пояс для тела, Wake Zone Marine a Limited Liability Corporation, U, Good Product Online быстрая доставка по всему миру.
Скидки до 25%. Получите большую экономию. Бесплатная доставка и бесплатный возврат соответствующих критериям товаров.определение M16 по The Free Dictionary
Квидилья сказал, что пятеро бандитов передали полиции свое мощное оружие — винтовку M14 с тремя магазинами, винтовку M16 со встроенным 40-мм гранатометом, винтовку марки Elisco M16 с одним магазином, две ручные гранаты, еще одну винтовку M16 с двумя магазинами. магазины, винтовка M16 со встроенным гранатометом M203 и четыре боеприпаса для гранатомета. По его словам, бывшие повстанцы сдали одну винтовку M16 с одним магазином и боеприпасами на 30 патронов; одна модифицированная М16 с боезапасом 59 снарядов; одна самодельная 5.56-мм однозарядный пистолет с боекомплектом на шесть патронов; домашний Инграм; одно ружье 12-го калибра; один револьвер калибра .357 с боезапасом на пять патронов; одно самодельное взрывное устройство весом 14 кг; одна капсюль-детонатор; 30-метровый электрический провод; один сотовый телефон Samsung с зарядным устройством и гарнитурой, а также внешний аккумулятор.
Всегда были какие-то препятствия, которые хватали вас и M16, который должен быть в безопасности. Бангалуру, Индия, 12 марта 2019 г. — (PR.com) — «Мы находятся на пути к #healthyindia и нашей платформе m16.health — второе приложение, которое мы запустили после https://m16labs.com еще в ноябре 2018 года, которое обеспечивает доступ к диагностическим услугам во всех крупных городах Индии. Я читал эти письма и комментарии о M16, когда он был представлен Из тайника с оружием были обнаружены семь винтовок M16, радиостанция Icom, четыре коротких магазина M16, магазин M14, 20 патронов M14, 1100 патронов M16, три самодельных взрывных устройства (СВУ), пять капсюлей, один детонирующий шнур, бинокль, 13 сотовых телефонов (разных марок), четыре блока питания, пять зарядных устройств, три удлинительных зарядных устройства, две батареи, 11 SIM-карт и 11 адаптеров памяти.Саад Маан сообщил, что второй аварийный полк руководства полиции Ниневии на основе точной информации обнаружил закопанные под землей оружие и боеприпасы (винтовка M16 со 150 патронами, автомат Калашникова и 10 магазинов и патроны M16 300 GC и патроны GC).
два ящика с боеприпасами ». Исполнительный судья областного суда города Тагайтай Хайме Сантьяго, бывший начальник отдела специального оружия и тактики MPD, считает, что убийца мэра мог использовать огнестрельное оружие, например винтовку M16.Из дома францисков были извлечены M4 Bushmaster, три коротких магазина для M16, патронташ, 90 патронов для M16, два гранатомета, три боевых патрона для гранатомета M203 и 20 пустых патронов для M16. к винтовке M16, которая была выставлена на вооружение во Вьетнаме в 1965 году. Пистолет, «списанная штурмовая винтовка M16», оказался частью художественного проекта. Пистолет, деактивированная штурмовая винтовка M16, был передан кинорежиссеру и фотограф в рамках арт-проекта.Динамика штурмовой винтовки M16 — Инженерная школа Витерби USC
В последнее время средства массовой информации изображают штурмовые винтовки злом общества. Однако штурмовую винтовку часто понимают неправильно. M16, стандартная штурмовая винтовка, используемая вооруженными силами США и многими другими оборонительными силами по всему миру, получила свою популярность благодаря своей прочности, эффективности, точности и переменной скорострельности.
Механизм стрельбы предоставляет пользователю возможность стрелять одним патроном, тремя патронами, неограниченным количеством патронов или вообще ни одного.Многие принципы физики задействованы в работе M16, в том числе отвод тепла, механика спускового механизма и питание магазина. В этой статье рассматриваются некоторые из основных принципов конструкции M16, описывается, как он работает, и кратко объясняется его происхождение.
Введение
Снайперские атаки на восточном побережье в октябре 2002 года вызвали опасения в стране в отношении оружия вооруженного преступника — штурмовой винтовки Bushmaster .223 калибра. Однако хорошо известная военная версия штурмовой винтовки M16 предоставила американским солдатам точное и эффективное оружие для защиты свободы граждан США.Многие инженерные принципы присущи винтовке M16.
Создание
В 1954 году было основано подразделение Armalite компании Fairchild Engine and Airplane Corporation в Коста-Меса, Калифорния, для разработки военного огнестрельного оружия с использованием новейших и инновационных пластмасс и цветных металлов.
Юджин М. Стоунер с помощью Роберта Фремонта и Л. Джеймса Салливана разработал AR-15 [1]. Несколько исследований, проведенных Управлением исследований операций армии США, выбрали AR-15 как лучшее оружие малого калибра, и он был принят на вооружение как M16.Таким образом, M16, AR-15 и Bushmaster .223 классифицируются как штурмовые винтовки, потому что они похожи по конструкции и имеют одинаковые возможности.
M16, часто называемая «Черная винтовка», завоевала свою популярность благодаря успешной работе во множестве военных условий (рис. 1), включая засушливые, умеренные и арктические [2]. Конструкция, лежащая в основе M16, увлекательна, проста для понимания и основана на самых разных принципах — от физики рассеивания тепла до механики заряжания и стрельбы одним снарядом.Хотя у большинства американцев нет штурмовой винтовки, лежащая в ее основе инженерия может использоваться в различных областях повседневной жизни.
Материальные и тепловые свойства
M16 изготовлен из прочных материалов, способных рассеивать или противостоять теплу.
Каждый материал обладает теплоемкостью, которая определяется как тепловая энергия, необходимая для повышения температуры вещества на один градус [3]. Когда пуля движется по стволу, часть энергии движущейся пули превращается в тепло из-за трения.Из физики мы знаем, что это выделяемое тепло распространяется по всей винтовке, и температура увеличивается в зависимости от теплоемкости каждого материала [3]. Благодаря этому свойству винтовка изготовлена из разных материалов, способных выдерживать высокие температуры.
В нормальных рабочих условиях тепло сохраняется до минимума. Таким образом, хотя ствол нагревается, рукоятки винтовки не сохраняют достаточно тепла, чтобы обжечь плоть. Одна из рукояток даже находится на стволе, но не нагревается до опасной температуры, так как между стволом и крышкой есть воздушный зазор.Этот зазор позволяет некоторому количеству тепла рассеиваться в окружающий воздух вместо того, чтобы передаваться рукоятке. Понятие тепла аналогично нагреванию кастрюли на плите.
Дно сковороды нагревается, и тепло распространяется по всей сковороде, включая ручку. Это объясняет, почему большинство ручек имеют покрытие или полностью состоят из материала с высокой теплоемкостью.
Сборка четырехпозиционного триггера
У стандартного автомобиля есть несколько разных передач, каждая из которых дает разный результат.Водитель в зависимости от желаемого хода выбирает подходящую передачу. Таким же образом M16 имеет четыре скорострельности: «безопасный» (без огня), «полуавтоматический» (один выстрел на нажатие спускового крючка), «очередь» (три выстрела на нажатие спускового крючка) и «полностью автоматический» ( стреляет, пока нажат спусковой крючок). Эти скорости регулируются полусложным механическим процессом. Спусковой механизм состоит из «спускового крючка, курка, автоматического шептала и селекторного переключателя, соединенного с поворотным кулачком управления стрельбой для выбора одного из типов стрельбы из огнестрельного оружия» [4].Вкратце, когда селекторный переключатель находится в положении «безопасно», кулачок управления остается в положении, ограничивающем положение автоматического разъединителя шептала, а кулачок управления находится в положении, при котором крюк, удерживающий курок, не освобождается.
Следовательно, в «безопасном» режиме ничего не произойдет при нажатии на спусковой крючок, что делает спусковой крючок эквивалентным качелям без центральной опоры; независимо от того, насколько сильно один толкает или тянет, другая сторона не будет двигаться вверх или вниз.
Когда селекторный переключатель находится в положении «полу», кулачок управления поворачивается так, что автоматический разъединитель шептала остается включенным, но полуавтоматический разъединитель (SAD) становится работоспособным и может реагировать с селекторным переключателем, заставляя молот двигаться.После перемещения курок возвращается к SAD, который фиксируется на курке и удерживает его до следующего нажатия на спусковой крючок.
Когда селекторный переключатель установлен в положение «разрыв», кулачок управления поворачивается в положение, при котором автоматический выключатель-шептал отключается и включается SAD. Контр-кулачок с тремя выемками находится в основании молотка. Две выемки достаточно высоки, чтобы предотвратить зацепление SAD за молоток, но на третьей выемке разрывной трещоточный разъединитель опускается, так что SAD зажимается на крюке молотка.
Таким образом, при нажатии на спусковой крючок производится подряд три выстрела.
Когда селекторный переключатель находится в положении «полностью автоматический», кулачок управления поворачивается, чтобы отключить как автоматическое разъединение шептала, SAD, так и разрывной разъединитель с храповым механизмом. Это позволяет курку непрерывно двигаться до тех пор, пока спусковой крючок не будет отпущен, потому что SAD не зафиксируется на курке до срабатывания спускового крючка.
Журнал
Цикл стрельбы одиночным выстрелом — очень сложный и быстрый процесс.Патроны содержатся в магазине на 10, 20 или стандартные 30 патронов. Магазин уникален тем, что патроны уложены друг на друга, а выступ в верхней части магазина позволяет первому патрону частично выступать над магазином; пружина в основании магазина толкает патроны вверх. Это сравнимо с работой дозатора PEZ, где леденцы, удерживаемые в магазине, подаются через верх. Пружина должна быть достаточно прочной, чтобы сохранять свою форму и прочность после многих циклов сжатия.
Таким образом, он требует прочной прочности, как пружины в подвеске автомобиля. Магазин скользит и надежно фиксируется в патроннике, расположенном перед спусковым механизмом.
Загрузка боеприпасов
Первый снаряд попадает в патронник, потянув за рукоятку заряжания и отпустив ее. Таким образом, болт, часть, которая движется в отверстии для выброса, вытягивается за пределы гнезда магазина. Когда затвор скользит назад, он захватывает патрон из магазина и продвигает его по пандусу в ствол.Во время движения патрон зацепляется за затвор и фиксируется на месте, как только болт попадает в ствол. Затвор и ствол спроектированы с выемками, которые блокируются, когда затвор входит в ствол, предотвращая попадание патрона в ствол и выход газов из отверстия для выброса. Следующим шагом является нажатие на спусковой крючок, чтобы освободить курок, который ударяет боек по патрону. Ударник расположен в центре затвора, который совпадает с центром патрона, отсюда и термин «центральный огонь» винтовок.
Стрельба, выбрасывание и перезарядка боеприпасов
Когда булавка попадает в снаряд, он воспламеняет порох внутри снаряда. Этот взрыв создает давление газа, необходимое для того, чтобы толкнуть пулю вниз и вывести ее из ствола с чрезвычайно высокой скоростью. Отверстие, называемое газовым портом, расположено внутри ствола, чтобы позволить некоторому расширяющемуся газу проходить через прорезь и проталкивать поршневое устройство обратно к затвору. Это действие толкает затвор позади магазина и приводит к двум желаемым результатам: во-первых, он извлекает использованный патрон с помощью процесса, который освобождает гильзу от затвора, а затем выталкивает гильзу из отверстия для выброса.Во-вторых, когда газ выходит, болт скользит назад и берет еще один снаряд. Процесс происходит за доли секунды и повторяется до тех пор, пока не будет использован последний патрон магазина. На стволе имеются нарезы или закрученные насечки на стволе, из-за которых пуля вращается при выходе из ствола.
Это улучшает точность раунда и сравнимо со спиралью, которую квотербек кладет на футбольный мяч.
Железных рудников
Некоторые другие интересные особенности M16 — это передняя и задняя части, которые используются для наведения винтовки на цель.Расположенный на конце ствола над неподвижной металлической частью, передняя часть может регулироваться по направлению. Задняя часть находится на другом металлическом куске, который служит ручкой для переноски. Вращение этого сайта настраивает объекты на разном расстоянии. На задней стороне есть два выступа под углом 90 градусов друг к другу — один с большим отверстием в центре, используемый для просмотра более близких объектов, а другой — с небольшим отверстием для наблюдения за дальними целями. Меньшее отверстие заставляет линию объекта больше фокусироваться на удаленном объекте, повышая точность.Когда есть движущиеся или несколько целей, отверстие большего размера компенсирует такие изменения, обеспечивая более широкий обзор.
Конечный результат
При окончательной сборке все компоненты винтовки соединяются и проходят испытания. После того, как оружие прошло все проверки, оно отправляется в требуемое место назначения. M16 — это образец инженерного гения, который сочетает в себе повседневную физику и механические свойства, чтобы создать инструмент, который можно использовать для защиты и отдыха.
M-16: Бюрократическая история ужасов
Технические данные, полученные в результате расследования Конгресса, убедили членов комитета выпустить необычно резкий отчет, обвиняющий в том, что M-16 был саботирован артиллерийским корпусом. И все же самым поразительным аспектом свидетельских показаний был его скучный, рутинный тон. Когда на представителей артиллерийского корпуса заставляли объяснять свои решения, они прибегали к цитатам из сводов правил, как персонажи пародии на бюрократическую жизнь.Казалось, им было трудно вспомнить, кто несет ответственность за важные решения; они имели тенденцию объяснять вещи, говоря: «чувство было» или «практика была…».
Они могли с осторожной бюрократической логикой перечислить разумность каждого своего шага: если у вас не было требований к арктическим тестам, вы могло не иметь приспосабливаемых винтовок. Если бы вы не перешли на шариковый порошок, у вас было бы давление в патроннике выше допустимых пределов, что могло быть опасно для войск.Похоже, они не видели связи между этим выбором и солдатами, которые умирали с зажатыми винтовками в руках. Они, безусловно, знали о проблемах М-16 и никому не поклонялись в своем беспокойстве. По их словам, это доказывало, что винтовка всегда была рискованным экспериментом, особенно (как они указывали несколько раз), когда ее использовали солдаты того типа, которых призывник собирал в наши дни, которые не могли понять важность содержания оружия в чистоте. Через четыре года после слушаний, в 1971 году, руководитель проекта М-16 полковник А.Rex Wing, написал историю винтовки в журнале Ordnance . Заголовок статьи гласил: «Хотя Вьетконг очень боялся М-16, когда наши солдаты впервые оснастили его во Вьетнаме, неисправности, вызванные ненадлежащим обслуживанием, привели к тому, что в прессе он был понижен в рейтинге».
В истории не было упоминания об изменении боеприпасов.
Комитет не смог найти реальных доказательств коррупции. В его отчете критиковался некий Нельсон Линд-младший, генерал, который руководил командованием вооружений армии с 1962 по 1964 год.Он одобрил покупку M-16 у Colt, а затем вскоре после выхода на пенсию устроился на работу в материнскую компанию Colt. Комитет сделал выговор генералу Линду за очевидный конфликт интересов — хотя, как указал Линде, советник армии не запрещал ему согласиться на эту работу. Комитет также призвал провести аудит прибыли, которую Кольт получил от этой винтовки, и отношений «единственного источника» с Олином Мэтисоном. В 1980 году я спросил следователя комитета Эрла Моргана, была ли замешана настоящая коррупция — взятки, откаты.«О, я был бы удивлен, если бы не было таких, зная, как делается этот бизнес», — сказал он. «Но мы так и не нашли ничего, что можно было бы доказать».
Возможно, самое верное объяснение того, почему все произошло именно так, является самым обычным: люди не могли предвидеть, каким образом случай и обстоятельства могут усилить последствия их действий.
Организация военного снабжения, как и большинство других организаций, всегда полна игр с властью и бюрократических игр, которые отвлекают внимание от целей, которые в рациональном мире всегда преследовались бы.Лишь изредка случай делает последствия этих игр катастрофическими. Несомненно, тысячи офицеров военной разведки перестали обращать внимание на срочные сообщения; той горстке, которая умерла 6 декабря 1941 года, просто не повезло остальным. Не повезло и артиллерийскому корпусу. В конце 1963 — начале 1964 года, когда принимались решающие решения по М-16, мало кто мог знать, что у США скоро будет полмиллиона сухопутных войск в Азии или что их выживание будет зависеть от их выживания. оружие, которое было продуктом мелких бюрократических склок.Большинство других ссор возникали и утихали, не унося солдатских жизней. Унылый тон одного из последних представлений армии комитету Конгресса подсказал, каким образом ситуация вышла из-под контроля:
Оглядываясь назад, иногда высказывалось предположение, что специфическое поведение шарового пороха в системе М-16 следовало предсказать.
… Если бы армия предвидела такое развитие событий, маловероятно, что курс, выбранный в январе 1964 года, был бы таким же.Вместо этого, вероятно, было бы принято решение снизить требования к скорости и продолжить загрузку пороха IMR 4475.
Комитет рекомендовал армии немедленно провести тщательное и честное испытание двух типов боеприпасов, настоятельно рекомендуя перейти на IMR 4475. Этого не произошло. Вместо того, чтобы вернуться к исходному пороху, артиллерийский корпус модифицировал шаровидный порох и заменил механический «буфер» винтовки, что снизило циклическую скорость.Это частично решило проблему заклинивания, но не восстановило первоначальную надежность или «летальность» винтовки. (Изменение «скручивания» ствола также никогда не исправлялось.) В течение каждого дня боев во Вьетнаме американские войска стреляли патронами, начиненными шаровым порохом, который был наследием артиллерийских корпусов. И если бы американские войска пошли в бой сегодня, они бы использовали такие же боеприпасы.
Пламегаситель AK M16 Style Дульное устройство — Texas Shooter’s Supply
Описание
Если вам нравится внешний вид традиционной птичьей клетки M16, но вы владелец AK, то это именно тот предмет, которого вы так долго ждали.Это дульное устройство АК, созданное по аналогии с пламегасителем M16, представляет собой усиленную версию, разработанную для того, чтобы выдерживать дульные выстрелы от более мощных патронов 7,62×39 мм. Качественно обработанная резьба и несколько фиксаторов делают установку этой дульной насадки легкой.
Правила и ограничения
Приобретение некоторых товаров в нашем магазине регулируется федеральными законами и местными ограничениями.
- Применяются все правила FFL. Перед покупкой ознакомьтесь с местным законодательством штата и федеральным законодательством.
- Все закупленное огнестрельное оружие будет отправлено только дилерам FFL, и вам нужно будет пройти проверку биографических данных, прежде чем вы сможете получить огнестрельное оружие от выбранного вами дилера.

- Доставка будет осуществляться только зарегистрированными отправителями (FedEx, UPS, USPS) с отслеживанием и страховкой.
Местные ограничения
- Аляска: Нет боеприпасов.
- Калифорния: Пистолеты запрещены. Без защиты / дробовиков с обоймой. Никаких полуавтоматических винтовок. Нет болтов М-16.Нет боеприпасов без FFL. Нет магазинов для боеприпасов большой емкости (более 10 патронов).
- Коннектикут: Полуавтоматические винтовки запрещены. С 1 сентября мы будем пересматривать статус законов 1 октября.
- Делавэр: Спусковые крючки BFSIII ™ продаются только для использования в пистолетах и огнестрельном оружии, не являющемся винтовкой. Буферные пружины и регулируемые газовые блоки продаются только для пистолетов и огнестрельного оружия.
- Флорида: С 1 сентября мы будем пересматривать статус законов 1 октября.
- Гавайи: Нет пистолетных магазинов более 10 патронов.
Нет боеприпасов. Нет продуктов BFSIII ™. - Иллинойс: Нет боеприпасов без FFL.
- Мэриленд: Пистолеты запрещены. Никаких журналов Hi-Cap более 20 баллов. С 1 сентября мы будем пересматривать статус законов 1 октября.
- Массачусетс: Пистолеты запрещены. Никаких журналов Hi-Cap без FFL. Без защиты / дробовиков с обоймой. Никаких полуавтоматических винтовок. Нет боеприпасов.
- Нью-Джерси: Нет журналов Hi-Cap более 10 шт.
- Штат Нью-Йорк: Пистолеты запрещены. Нет журналов более 10 баллов.
- Нью-Йорк, Бронкс, Бруклин, Манхэттен, Стейтен-Айленд и Квинс : Пистолеты запрещены. Нет журналов более 10 баллов. Нет боеприпасов. Нет запрещенных предметов NFA.
- Вермонт: Нет магазинов для винтовок более 10 патронов. Никаких пистолетных магазинов более 15 патронов.
- Вашингтон, округ Колумбия: Огнестрельное оружие запрещено.


М200-16-160
М 500-16-200
М 65-25-80
М 250-25-160
М 600-25-200
М
М 80-16-180
М 250-16-360
М 600-16-420
301412.001
301412.001-04
43 МГц)
5.51 от 09-03-2016
… Если бы армия предвидела такое развитие событий, маловероятно, что курс, выбранный в январе 1964 года, был бы таким же.Вместо этого, вероятно, было бы принято решение снизить требования к скорости и продолжить загрузку пороха IMR 4475.
Нет боеприпасов. Нет продуктов BFSIII ™.